2NZ-FE ENGINE MECHANICAL ENGINE UNIT DISASSEMBLY
PROCEDURE
19100P
1.REMOVE SPARK PLUG
89615
2.REMOVE KNOCK CONTROL SENSOR
83530
3.REMOVE ENGINE OIL PRESSURE SWITCH ASSEMBLY
89422
4.REMOVE ENGINE COOLANT TEMPERATURE SENSOR
16321
5.REMOVE WATER INLET
16331A
6.REMOVE THERMOSTAT
12108
7.REMOVE OIL FILLER CAP SUB-ASSEMBLY

Remove the oil filler cap sub-assembly from the cylinder head cover sub-assembly.
12108A
8.REMOVE OIL FILLER CAP GASKET

*a | Protective Tape |
Using a screwdriver, remove the oil filler cap gasket from the oil filler cap sub-assembly.
- HINT:
-
Tape the screwdriver tip before use.
15100Q
9.REMOVE CRANKSHAFT POSITION SENSOR
12204
10.REMOVE PCV VALVE (VENTILATION VALVE SUB-ASSEMBLY)
11201
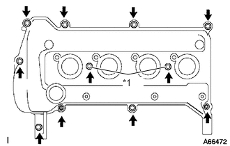
11.REMOVE CYLINDER HEAD COVER SUB-ASSEMBLY

*1 | Cylinder Head Cover Seal Washer |
Remove the 9 bolts, 2 nuts, 2 cylinder head cover seal washers and cylinder head cover sub-assembly.
11213
12.REMOVE CYLINDER HEAD COVER GASKET
Remove the cylinder head cover gasket from the cylinder head cover sub-assembly.
11101J
13.REMOVE CAMSHAFT TIMING OIL CONTROL VALVE ASSEMBLY
11452
14.REMOVE OIL LEVEL DIPSTICK GUIDE

Remove the bolt and oil level dipstick guide.
Remove the O-ring from the oil level dipstick guide.
16173
15.REMOVE WATER PUMP PULLEY
13407
16.REMOVE CRANKSHAFT DAMPER SUB-ASSEMBLY

*a | Timing Mark "0" |
*b | Timing Notch |
Set the No. 1 cylinder to TDC/compression.
Turn the crankshaft damper sub-assembly until its timing notch (groove) and the timing mark "0" of the oil pump assembly are aligned.

*a | Timing Mark |
Check that the timing marks on the camshaft timing sprocket and camshaft timing gear assembly are all facing upward as shown in the illustration.
- HINT:
-
If not, turn the crankshaft 1 complete revolution (360°) and align the marks as above.

*a | Hold |
*b | Turn |
Using SST, hold the crankshaft damper sub-assembly in place and loosen the crankshaft pulley set bolt.
- SST
- 09213-14010 (91651-60865)
09330-00021
- NOTICE:
-
Check the SST installation positions when installing them, to avoid the SST fixing bolts from coming into contact with the oil pump assembly.
Remove SST.
Remove the crankshaft pulley set bolt and crankshaft damper sub-assembly.
12315A
17.REMOVE ENGINE MOUNTING BRACKET RH

Remove the 4 bolts and engine mounting bracket RH.
16100
18.REMOVE ENGINE WATER PUMP ASSEMBLY
15100
19.REMOVE OIL PUMP ASSEMBLY
15100C
20.REMOVE OIL PUMP SEAL
13540
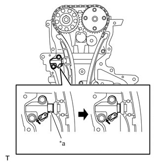
21.REMOVE NO. 1 CHAIN TENSIONER ASSEMBLY

*1 | Oil Jet |
*a | Timing Mark |
- NOTICE:
- ·
Do not rotate the crankshaft with the No. 1 chain tensioner assembly removed.
·When rotating the camshaft with the chain sub-assembly removed, rotate the crankshaft counterclockwise 40° from TDC first, and align the oil jet hole with the timing mark. This prevents the pistons from coming into contact with the valves.

*a | Stopper Plate |
Turn the stopper plate clockwise to release the lock.

*a | Plunger |
With the lock released, push the plunger into the tensioner.

*a | Stopper Plate |
Turn the stopper plate counterclockwise to set the lock.

*a | 3 mm Diameter Bar |
Insert a 3 mm (0.118 in.) diameter bar into the hole of the stopper plate to lock the plunger.

Remove the 2 bolts and No. 1 chain tensioner assembly.
13559
22.REMOVE CHAIN TENSIONER SLIPPER

Remove the chain tensioner slipper.
13561
23.REMOVE NO. 1 CHAIN VIBRATION DAMPER

Remove the 2 bolts and No. 1 chain vibration damper.
13506
24.REMOVE CHAIN SUB-ASSEMBLY
Remove the chain sub-assembly from the camshaft timing gear assembly, camshaft timing sprocket and crankshaft.
23807
25.REMOVE FUEL DELIVERY PIPE SUB-ASSEMBLY
23807V
26.REMOVE NO. 1 DELIVERY PIPE SPACER
23291
27.REMOVE INJECTOR VIBRATION INSULATOR
23250
28.REMOVE FUEL INJECTOR ASSEMBLY
11101E
29.REMOVE CAMSHAFT POSITION SENSOR
13512
30.REMOVE NO. 2 CAMSHAFT

*1 | Oil Jet |
*a | Timing Mark |
- NOTICE:
- ·
Do not rotate the crankshaft with the No. 1 chain tensioner assembly removed.
·When rotating the camshaft with the chain sub-assembly removed, rotate the crankshaft counterclockwise 40° from TDC first, and align the oil jet hole with the timing mark. This prevents the pistons from coming into contact with the valves.

*1 | No. 1 Camshaft Bearing Cap |
*2 | No. 2 Camshaft Bearing Cap |
Uniformly loosen and remove the 11 bolts in the order shown in the illustration.
- NOTICE:
-
Loosen each bolt uniformly while keeping the No. 2 camshaft level.
Remove the No. 1 camshaft bearing cap, 4 No. 2 camshaft bearing caps and No. 2 camshaft.
13523
31.REMOVE CAMSHAFT TIMING SPROCKET

Secure the No. 2 camshaft in a soft jaw vise.
- NOTICE:
-
Do not damage the No. 2 camshaft.
Remove the bolt and camshaft timing sprocket.
13511
32.REMOVE CAMSHAFT

Uniformly loosen and remove the 8 bolts in the order shown in the illustration.
- NOTICE:
-
Loosen each bolt uniformly while keeping the camshaft level.
Remove the 4 No. 2 camshaft bearing caps and camshaft.
13050
33.REMOVE CAMSHAFT TIMING GEAR ASSEMBLY
11101
34.REMOVE CYLINDER HEAD SUB-ASSEMBLY
11115
35.REMOVE CYLINDER HEAD GASKET
15601
36.REMOVE OIL FILTER SUB-ASSEMBLY
15600A
37.REMOVE OIL FILTER UNION

Using a 12 mm hexagon wrench, remove the oil filter union from the oil pan sub-assembly.
11401L
38.REMOVE REAR ENGINE OIL SEAL
12102A
39.REMOVE NO. 2 OIL PAN SUB-ASSEMBLY

Remove the oil pan drain plug and gasket from the No. 2 oil pan sub-assembly.
Remove the 9 bolts and 2 nuts.

Insert the blade of an oil pan seal cutter between the oil pan sub-assembly and No. 2 oil pan sub-assembly, cut through the applied seal packing and remove the No. 2 oil pan sub-assembly.
- NOTICE:
-
Be careful not to damage the contact surfaces of the oil pan sub-assembly and No. 2 oil pan sub-assembly.
15104
40.REMOVE OIL STRAINER SUB-ASSEMBLY

Remove the bolt, 2 nuts, oil strainer sub-assembly and oil strainer gasket from the oil pan sub-assembly.
12101
41.REMOVE OIL PAN SUB-ASSEMBLY

Uniformly loosen and remove the 13 bolts.

*a | Protective Tape |
Using a screwdriver, remove the oil pan sub-assembly by prying between the cylinder block sub-assembly and oil pan sub-assembly.
- NOTICE:
-
Be careful not to damage the contact surfaces of the oil pan sub-assembly and cylinder block sub-assembly.
- HINT:
-
Tape the screwdriver tip before use.

Remove the 2 O-rings from the cylinder block sub-assembly.
15104E
42.REMOVE STUD BOLT

Using an E5 "TORX" socket wrench, remove the 4 stud bolts.