2NZ-FE ENGINE CONTROL IGNITION COIL AND SPARK PLUG REMOVAL
PROCEDURE
11212
1.REMOVE NO. 2 CYLINDER HEAD COVER
19500D
2.REMOVE NO. 1 IGNITION COIL

Disconnect the 4 No. 1 ignition coil connectors.

Remove the 4 bolts and 4 No. 1 ignition coils from the cylinder head cover sub-assembly.
- NOTICE:
-
If a No. 1 ignition coil has been struck or dropped, replace it.
- HINT:
-
Arrange the removed parts in the correct order.
19500F
3.REMOVE PLUG CAP
- HINT:
-
If the plug cap has any damage, replace it with a new one.
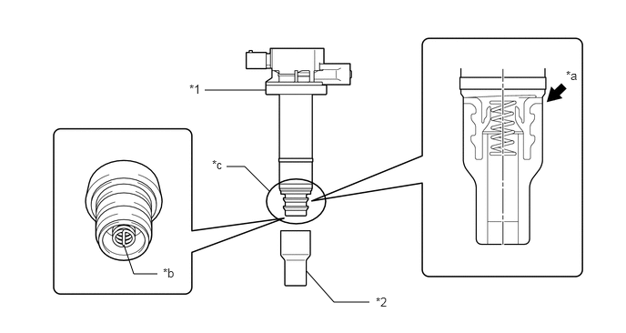
Remove the plug cap of the No. 1 ignition coil.

*1 | No. 1 Ignition Coil | *2 | Plug Cap |
*a | Section A | *b | Spring |
*c | Plug Cap Fitting | - | - |
- NOTICE:
- ·
When removing the plug cap, make sure not to damage the plug cap fitting of the No. 1 ignition coil.
·When removing the plug cap, do not deform the spring of the No. 1 ignition coil or allow it to fall out.
·If the plug cap fitting has any damage, replace the No. 1 ignition coil with a new one.
·If the spring is deformed or falls out, replace the No. 1 ignition coil with a new one. (The spring cannot be reassembled.)
- HINT:
-
Spread section A of the plug cap and pull downwards to remove the plug cap.
19100P
4.REMOVE SPARK PLUG

Remove the 4 spark plugs from the cylinder head sub-assembly.
- NOTICE:
-
If a spark plug has been struck or dropped, replace it.
- HINT:
-
Arrange the removed parts in the correct order.