2NZ-FE ENGINE MECHANICAL CAMSHAFT REMOVAL
PROCEDURE
11212
1.REMOVE NO. 2 CYLINDER HEAD COVER
12262
2.DISCONNECT NO. 2 VENTILATION HOSE

Slide the clip and disconnect the No. 2 ventilation hose from the cylinder head cover sub-assembly.
12261
3.DISCONNECT VENTILATION HOSE

Slide the clip and disconnect the ventilation hose from the cylinder head cover sub-assembly.
19500D
4.REMOVE NO. 1 IGNITION COIL
11201
5.REMOVE CYLINDER HEAD COVER SUB-ASSEMBLY
11213
6.REMOVE CYLINDER HEAD COVER GASKET
7.SET NO. 1 CYLINDER TO TDC/COMPRESSION

*a | Timing Mark |
*b | Timing Notch |
Turn the crankshaft damper sub-assembly until its timing notch (groove) and the timing mark "0" of the oil pump assembly are aligned.

*a | Timing Mark |
Check that each timing mark of the camshaft timing gear assembly and camshaft timing sprocket are aligned as shown in the illustration.
If not, turn the crankshaft 1 revolution (360°) to align the timing marks as shown in the illustration.

*a | Paint Mark |
Place paint marks on the chain sub-assembly in alignment with the timing marks on the camshaft timing gear assembly and camshaft timing sprocket.
13512
8.REMOVE NO. 2 CAMSHAFT

*a | Alignment Mark |
- NOTICE:
-
When rotating the camshaft with the chain sub-assembly removed, rotate the crankshaft damper sub-assembly counterclockwise 40° from TDC/Compression and align its timing notch with the alignment mark of the oil pump assembly to prevent the pistons from coming into contact with the valves.

Using a 5 mm hexagon wrench, remove the screw plug.

*a | Stopper Plate |
Insert a screwdriver into the service hole in the No. 1 chain tensioner assembly to pull the stopper plate of the No. 1 chain tensioner assembly upward.

*a | Plunger |
Using a wrench, rotate the No. 2 camshaft clockwise to push in the plunger of the No. 1 chain tensioner sub-assembly.

Remove the screwdriver from the service hole, then align the hole of the stopper plate with the service hole and insert a 3 mm (0.118 in.) diameter bar into the holes to hold the stopper plate.
- HINT:
- ·
Secure the stopper plate using the bar while rotating the camshaft right and left slightly.
·Hold the bar with tape so that the bar does not come off.

Using a wrench, hold the hexagonal portion of the No. 2 camshaft and loosen the bolt.

Uniformly loosen and remove the 11 bolts in the order shown in the illustration.
- NOTICE:
-
Loosen each bolt uniformly while keeping the camshaft level.

Remove the bolt and remove the camshaft timing sprocket.

Remove the No. 2 camshaft from cylinder head sub-assembly.
13511
9.REMOVE CAMSHAFT

Uniformly loosen and remove the 8 bolts in the order shown in the illustration.
- NOTICE:
-
Loosen each bolt uniformly while keeping the camshaft level.

Hold up the chain sub-assembly and remove the camshaft from the cylinder head sub-assembly.

Suspend the chain sub-assembly with a string or equivalent.
13050
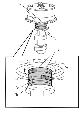
10.REMOVE CAMSHAFT TIMING GEAR ASSEMBLY

*a | Rubber Piece |
*b | Vinyl Tape |
*c | Advance Side Path |
*d | Retard Side Path |
*e | Open |
*f | Closed |
Cover the 4 oil paths of the cam journal with vinyl tape as shown in the illustration.
- HINT:
-
One of the 2 grooves located on the cam journal is for retarding cam timing (upper) and the other is for advancing cam timing (lower). Each groove has 2 oil paths. Plug one of the oil paths of each groove with a rubber piece before wrapping the cam journal with the vinyl tape.
Prick a hole in the vinyl tape of the advance side path and retard side path on opposite side of the camshaft.

*a | Advance Side Path |
*b | Retard Side Path |
Apply compressed air of approximately 150 kPa (1.5 kgf/cm2, 22 psi) pressure into the 2 open paths (the advance side path and retard side path).
- NOTICE:
-
Cover the paths with a piece of cloth to prevent oil from spraying.

*a | Retard Side Path |
*b | Advance Side Path |
*c | Decompress |
*d | Hold Pressure |
Confirm that the camshaft timing gear assembly turns in the advance direction when reducing the air pressure applied to the retard side path.
- HINT:
-
The lock pin is released and the camshaft timing gear assembly turns in the advance direction.
When the camshaft timing gear assembly reaches the most advanced position, release the air pressure on the retard side path, and then release the air pressure on the advance side path.
- NOTICE:
-
Be sure to release the air pressure from the retard side path first. If the air pressure of the advance side path is released first, the camshaft timing gear assembly may abruptly shift in the retard direction and break the lock pin or other parts.
Secure the hexagonal portion of the camshaft in a soft jaw vise.

*a | Bolt |
*b | Do not remove |
Remove the bolt and camshaft timing gear assembly.
- NOTICE:
- ·
Do not remove the other 4 bolts.
·Before removing the camshaft timing gear assembly, make sure that the lock pin has been released.
·Keep the camshaft timing gear assembly horizontal while removing it from the camshaft.
·If the camshaft timing gear assembly is to be reused, be sure to use it with the lock pin released.