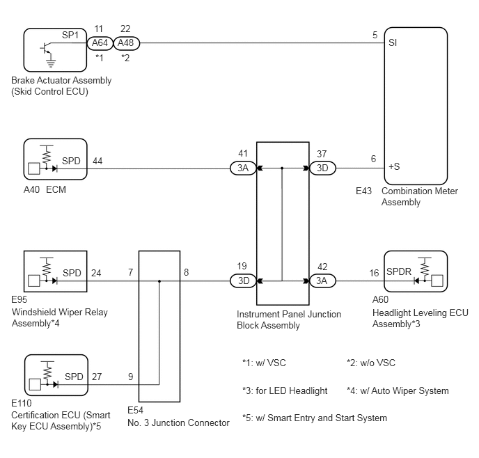
METER / GAUGE / DISPLAY METER / GAUGE SYSTEM Speed Signal Circuit
DESCRIPTION
w/ ABS
The combination meter assembly receives the vehicle speed signal from this circuit. The wheel speed sensors produce an output that varies according to the vehicle speed. The wheel speed sensor output is received by the skid control ECU which uses this information to create the vehicle speed sensor signal*. The vehicle speed sensor signal consists of pulses sent to the combination meter assembly from the skid control ECU. To create this signal, 12 V is output from IG2 which is behind a resistor in the combination meter assembly. This voltage is sent to the skid control ECU. The pulse signal is created by switching the transistor in the skid control ECU on and off, making the voltage on the wire drop to 0 V. A similar system is used for the output of this signal from the combination meter assembly via terminal +S. A voltage of 12 V or 5 V is applied to terminal +S from each ECU or relay that is connected to this terminal. The transistor in the combination meter assembly is controlled by the signal from the skid control ECU. When this transistor is turned on, this transistor makes the voltage supplied by the various ECUs (via their respective internal resistors) drop to 0 V. Each ECU connected to terminal +S of the combination meter assembly controls its respective system based on this pulse signal.
*: This vehicle speed sensor signal is created by the skid control ECU. There is no actual component that is referred to as the vehicle speed sensor. In addition, for some systems, vehicle speed information may be received via CAN communication.
- HINT:
-
This circuit is used for the systems connected to terminal +S. This signal is not used for combination meter assembly operation. Combination meter assembly components such as the speedometer operate using data received via CAN communication.
w/o ABS
The combination meter assembly receives vehicle speed signals from the speedometer sensor. The speedometer sensor detects voltage that varies according to the vehicle speed. The speedometer sensor transmits vehicle speed signals as pulses to the combination meter assembly. The signal is changed to a pulse signal at the transistor in the combination meter assembly.
WIRING DIAGRAM
for 1ZR-FE

for 2ZR-FE

for 2NZ-FE

PROCEDURE

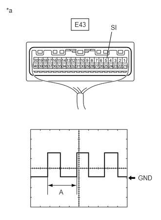
*a | Front view of wire harness connector
(to Combination Meter Assembly) |
Disconnect the E43 combination meter assembly connector.
Measure the voltage according to the value(s) in the table below.
- Standard Voltage:
Tester Connection Condition Specified Condition E43-6 (+S) - Body ground Ignition switch ON 4.5 to 14 V
- HINT:
-
If any of the ECUs specified in the wiring diagram supplies power to the combination meter assembly, the combination meter assembly will output a waveform.
- Result:
Result Proceed to OK (w/ ABS) A OK (w/o ABS) B NG C
A
B
C

*a | Front view of wire harness connector
(to Brake Actuator Assembly (Skid Control ECU)) |
*A | w/ VSC |
*B | w/o VSC |
Disconnect the A64*1 or A48*2 brake actuator assembly (skid control ECU) connector.
Connect the E43 combination meter assembly connector.
Measure the voltage according to the value(s) in the table below.
- Standard Voltage:
Tester Connection Condition Specified Condition A64-11 (SP1) - Body ground*1 Ignition switch ON 11 to 14 V A48-22 (SP1) - Body ground*2 Ignition switch ON 11 to 14 V
*1: w/ VSC
*2: w/o VSC
- Result:
Proceed to OK NG
OK
NG

*a | Component with harness connected
(Combination Meter Assembly) |
Connect the A64*1 or A48*2 brake actuator assembly (skid control ECU) connector.
*1: w/ VSC
*2: w/o VSC
Remove the combination meter assembly with the connector(s) still connected.
Connect an oscilloscope to terminal E43-5 (SI) and body ground.
Turn the ignition switch to ON.
Turn a wheel slowly.
Check the signal waveform according to the condition(s) in the table below.
Item | Condition |
---|---|
Tester Connection | E43-5 (SI) - Body ground |
Tool setting | 5 V/DIV., 20 ms./DIV. |
Vehicle condition | Ignition switch ON, wheel being rotated |
- OK:
The waveform is similar to that shown in the illustration.
- HINT:
-
When the system is functioning normally, one wheel revolution generates 4 pulses. As the vehicle speed increases, the width indicated by (A) in the illustration narrows.
- Result:
Proceed to OK NG
OK
NG
Disconnect the E43 combination meter assembly connector.
Measure the resistance according to the value(s) in the table below.
- Standard Resistance:
Tester Connection Condition Specified Condition A64-11 (SP1) - E43-5 (SI)*1 Always Below 1 Ω A48-22 (SP1) - E43-5 (SI)*2 Always Below 1 Ω A64-11 (SP1) or E43-5 (SI) - Body ground*1 Always 10 kΩ or higher A48-22 (SP1) or E43-5 (SI) - Body ground*2 Always 10 kΩ or higher
*1: w/ VSC
*2: w/o VSC
- Result:
Proceed to OK NG
OK
NG

*a | Front view of wire harness connector
(to Speedometer Sensor) |
Disconnect the B44 speedometer sensor connector.
Connect the E43 combination meter assembly connector.
Measure the voltage according to the value(s) in the table below.
- Standard Voltage:
Tester Connection Condition Specified Condition B44-3 (SI) - Body ground Ignition switch ON 11 to 14 V
- Result:
Proceed to OK NG
OK
NG

*a | Component with harness connected
(Combination Meter Assembly) |
Connect the B44 speedometer sensor connector.
Remove the combination meter assembly with the connector(s) still connected.
Connect an oscilloscope to terminal E43-5 (SI) and body ground.
Turn the ignition switch to ON.
Turn a wheel slowly.
Check the signal waveform according to the condition(s) in the table below.
Item | Condition |
---|---|
Tester Connection | E43-5 (SI) - Body ground |
Tool setting | 5 V/DIV., 20 ms./DIV. |
Vehicle condition | Ignition switch ON, wheel being rotated |
- OK:
The waveform is similar to that shown in the illustration.
- HINT:
-
When the system is functioning normally, one wheel revolution generates 4 pulses. As the vehicle speed increases, the width indicated by (A) in the illustration narrows.
- Result:
Proceed to OK NG
OK
NG
for Manual Transaxle (C50): Click hereDrivetrain>C50 MANUAL TRANSMISSION / TRANSAXLE>MANUAL TRANSAXLE ASSEMBLY>REMOVAL
for Automatic Transaxle (U441E): Click hereDrivetrain>U441E AUTOMATIC TRANSMISSION / TRANSAXLE>AUTOMATIC TRANSAXLE ASSEMBLY>REMOVAL
Disconnect the E43 combination meter assembly connector.
Measure the resistance according to the value(s) in the table below.
- Standard Resistance:
Tester Connection Condition Specified Condition B44-3 (SI) - E43-5 (SI) Always Below 1 Ω B44-3 (SI) or E43-5 (SI) - Body ground Always 10 kΩ or higher
- Result:
Proceed to OK NG
OK
NG
Disconnect the 3D instrument panel junction block assembly connector.
Measure the resistance according to the value(s) in the table below.
- Standard Resistance:
Tester Connection Condition Specified Condition 3D-37 - E43-6 (+S) Always Below 1 Ω 3D-37 or E43-6 (+S) - Body ground Always 10 kΩ or higher
- Result:
Proceed to OK NG
OK
NG
Check for a short in the wire harness and connectors connected to the instrument panel junction block assembly shown in the wiring diagram.
- HINT:
-
If voltage is not present, it is possible that an ECU or circuit has a malfunction. The malfunctioning ECU or circuit will be diagnosed in the following steps.
Disconnect the 3A and 3D instrument panel junction block assembly connectors.
Measure the voltage according to the value(s) in the table below.
- Standard Voltage:
Tester Connection Condition Specified Condition 3A-42 - Body ground*1 Ignition switch ON 4.5 to 14 V 3A-41 - Body ground Ignition switch ON 4.5 to 14 V 3D-19 - Body ground*2 Ignition switch ON 4.5 to 14 V
*1: for LED Headlight
*2: for 2NZ-FE or w/ Auto Wiper System or w/ Smart Entry and Start System
- Result:
Result Proceed to Voltage is not present in one circuit A Voltage is present in all of the circuits B
A
B
Select the circuit in which voltage was not present in step 9.
- Result:
Tester Connection System that Uses the Circuit Proceed to 3A-42 - Body ground Automatic Headlight Beam Level Control System*1 A 3A-41 - Body ground SFI System B 3D-19 - Body ground Auto Wiper System*2 C Power Steering System*3 Smart Entry and Start System*4
*1: for LED Headlight
*2: w/ Auto Wiper System
*3: for 2NZ-FE
*4: w/ Smart Entry and Start System
A
B
C
Disconnect the A60 headlight leveling ECU assembly connector.
Measure the resistance according to the value(s) in the table below.
- Standard Resistance:
Tester Connection Condition Specified Condition A60-16 (SPDR) - Body ground Always 10 kΩ or higher
- Result:
Proceed to OK NG
OK
NG
Disconnect the A40*1 or A56*4 ECM connector.
Measure the resistance according to the value(s) in the table below.
- Standard Resistance:
Tester Connection Condition Specified Condition A40-44 (SPD) - Body ground*1 Always 10 kΩ or higher A56-38 (SPD) - Body ground*2 Always 10 kΩ or higher A56-8 (SPD) - Body ground*3 Always 10 kΩ or higher
*1: for 2ZR-FE
*2: for 1ZR-FE
*3: for 2NZ-FE
*4: for 1ZR-FE or 2NZ-FE
- Result:
Proceed to OK NG
OK
for 1ZR-FE: Click hereEngine / Hybrid System>1ZR-FE ENGINE CONTROL>ECM>REMOVAL
for 2ZR-FE: Click hereEngine / Hybrid System>2ZR-FE ENGINE CONTROL>ECM>REMOVAL
for 2NZ-FE: Click hereEngine / Hybrid System>2NZ-FE ENGINE CONTROL>ECM>REMOVAL
NG
Disconnect the E54 No. 3 junction connector.
Measure the resistance according to the value(s) in the table below.
- Standard Resistance:
Tester Connection Condition Specified Condition E54-8 - 3D-19 Always Below 1 Ω E54-8 or 3D-19 - Body ground Always 10 kΩ or higher
- Result:
Proceed to OK NG
OK
NG
Check for a short in the wire harness and connectors connected to the No. 3 junction connector shown in the wiring diagram.
- HINT:
-
If voltage is not present, it is possible that an ECU or circuit has a malfunction. The malfunctioning ECU or circuit will be diagnosed in the following steps.
Measure the voltage according to the value(s) in the table below.
- Standard Voltage:
Tester Connection Condition Specified Condition E54-7 - Body ground*1 Ignition switch ON 4.5 to 14 V E54-9 - Body ground*2 Ignition switch ON 4.5 to 14 V E54-11 - Body ground*3 Ignition switch ON 4.5 to 14 V
*1: w/ Auto Wiper System
*2: w/ Smart Entry and Start System
*3: for 2NZ-FE
- Result:
Result Proceed to Voltage is not present in one circuit A Voltage is present in all of the circuits B
A
B
Select the circuit for which voltage was not present in step 14.
- Result:
Tester Connection System that Uses the Circuit Proceed to E54-7 - Body ground Auto Wiper System*1 A E54-9 - Body ground Smart Entry and Start System*2 B E54-11 - Body ground Power Steering System*3 C
*1: w/ Auto Wiper System
*2: w/ Smart Entry and Start System
*3: for 2NZ-FE
A
B
C
Disconnect the E95 windshield wiper relay assembly connector.
Measure the resistance according to the value(s) in the table below.
- Standard Resistance:
Tester Connection Condition Specified Condition E95-24 (SPD) - Body ground Always 10 kΩ or higher
- Result:
Proceed to OK NG
OK
NG
Disconnect the E110 certification ECU (smart key ECU assembly) connector.
Measure the resistance according to the value(s) in the table below.
- Standard Resistance:
Tester Connection Condition Specified Condition E110-27 (SPD) - Body ground Always 10 kΩ or higher
- Result:
Proceed to OK NG
OK
NG
Disconnect the E40 power steering ECU assembly connector.
Measure the resistance according to the value(s) in the table below.
- Standard Resistance:
Tester Connection Condition Specified Condition E40-2 (SPD) - Body ground Always 10 kΩ or higher
- Result:
Proceed to OK NG
OK
NG