2NZ-FE FUEL FUEL SYSTEM PRECAUTION
PRECAUTIONS
Before inspecting and repairing the fuel system, disconnect the cable from the negative (-) battery terminal.
- NOTICE:
-
After turning the ignition switch off, waiting time may be required before disconnecting the cable from the negative (-) battery terminal. Therefore, make sure to read the disconnecting the cable from the negative (-) battery terminal notices before proceeding with work.
-
Click hereGeneral>INTRODUCTION>REPAIR INSTRUCTION>PRECAUTION
Do not smoke or work near fire when handling the fuel system.
Keep fuel away from rubber or leather parts.
DISCHARGE FUEL SYSTEM PRESSURE
- CAUTION:
- ·
Make sure the engine coolant temperature is 60°C (140°F) or less when performing this procedure.
·Perform the following procedure to prevent fuel from spraying before removing any fuel system parts.
·Pressure will still remain in the fuel lines even after performing the following procedure. When disconnecting a fuel line, cover it with a piece of cloth to prevent fuel from spraying or coming out.
When discharging fuel system pressure by disconnecting the C/OPN NO. 1 relay:
Remove the engine room relay block and junction block assembly cover.
Remove the C/OPN NO. 1 relay.
Start the engine. After the engine has stopped on its own, turn the ignition switch off.
- NOTICE:
-
Do not increase the engine speed or drive the vehicle while waiting for the engine to stop on its own.
Crank the engine again and make sure that the engine does not start.
- HINT:
-
DTC P0171 (System Too Lean), P1603 (Engine Stall History), P1604 (Startability Malfunction) and P1605 (Rough Idling) may be stored. Clear the DTCs before proceeding to the next step.
-
Click hereEngine / Hybrid System>2NZ-FE ENGINE CONTROL>SFI SYSTEM>DTC CHECK / CLEAR
Remove the fuel tank cap assembly and discharge the pressure from the fuel tank sub-assembly.
Disconnect the cable from the negative (-) battery terminal.
- NOTICE:
-
When disconnecting the cable, some systems need to be initialized after the cable is reconnected.
-
Click hereGeneral>INTRODUCTION>REPAIR INSTRUCTION>INITIALIZATION
Install the C/OPN NO. 1 relay.
Install the engine room relay block and junction block assembly cover.
When discharging fuel system pressure by disconnecting the fuel pump connector:
Remove the rear seat cushion assembly.
Click hereVehicle Interior>SEAT>REAR SEAT ASSEMBLY(for Fixed Seat Type)>REMOVAL

Remove the rear floor service hole cover and butyl tape.
Disconnect the fuel pump connector.
Start the engine. After the engine has stopped on its own, turn the ignition switch off.
- NOTICE:
-
Do not increase the engine speed or drive the vehicle while waiting for the engine to stop on its own.
Crank the engine again and make sure that the engine does not start.
- HINT:
-
DTC P0171 (System Too Lean), P1603 (Engine Stall History), P1604 (Startability Malfunction) and P1605 (Rough Idling) may be stored. Clear the DTCs before proceeding to the next step.
-
Click hereEngine / Hybrid System>2NZ-FE ENGINE CONTROL>SFI SYSTEM>DTC CHECK / CLEAR
Remove the fuel tank cap assembly and discharge the pressure from the fuel tank sub-assembly.
Disconnect the cable from the negative (-) battery terminal.
- NOTICE:
-
When disconnecting the cable, some systems need to be initialized after the cable is reconnected.
-
Click hereGeneral>INTRODUCTION>REPAIR INSTRUCTION>INITIALIZATION
Remove any remaining butyl tape from the rear floor service hole cover and vehicle body.
Clean and degrease the installation surfaces of the rear floor service hole cover and vehicle body.
Connect the fuel pump connector.
Install the rear floor service hole cover with new butyl tape.
Install the rear seat cushion assembly.
Click hereVehicle Interior>SEAT>REAR SEAT ASSEMBLY(for Fixed Seat Type)>INSTALLATION
FUEL LINE
When disconnecting a high-pressure fuel line, a large amount of fuel will spray. Perform the following procedure:
Discharge fuel system pressure.
Disconnect the fuel tube.
Drain the fuel remaining inside the fuel tube into a container.
Cover the disconnected fuel pipe and fuel tube connector with plastic bags to prevent damage and contamination.
Quick Type A:
Perform the following procedure when disconnecting a fuel tube connector.
- NOTICE:
-
Remove any dirt or foreign matter on the fuel tube connector and fuel pipe before performing this work.

Disengage the claw and remove the No. 1 fuel pipe clamp. (for Vehicle Body Side)

Remove the No. 1 fuel pipe clamp. (for Engine Side)
Check that there is no dirt or other foreign matter around the fuel tube connector before disconnecting it. Clean the joint if necessary.

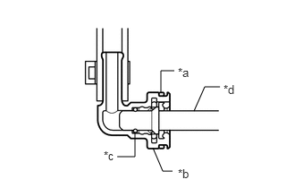
*a | Retainer |
*b | O-ring |
*c | Fuel Tube Connector |
*d | Nylon Tube |
*e | Fuel Pipe |
![]() |
Pinch |
![]() |
Pull |
Pinch the retainer of the fuel tube connector, and then pull the fuel tube connector off of the fuel pipe.
- NOTICE:
-
Be sure to disconnect the fuel tube connector by hand.
If the fuel tube connector and fuel pipe are stuck, push and pull the fuel tube connector to release it. Pull the fuel tube connector off of the fuel pipe carefully.
- NOTICE:
- ·
Be sure to disconnect the fuel tube connector by hand.
·Do not allow any scratches or foreign matter to get on the parts when disconnecting them as the fuel tube connector has O-rings that seal the fuel pipe.
·Do not forcibly bend, twist or turn the nylon tube.
Check if there is any foreign matter on the sealing surfaces of the disconnected fuel lines. Clean them if necessary.
Cover the disconnected fuel pipe and fuel tube connector with plastic bags to prevent damage and contamination.
Quick Type A:
Perform the following procedure when connecting a fuel tube connector.
- NOTICE:
-
Check if there is any damage or foreign matter on the connecting parts of the fuel lines.
Align the fuel tube connector with the fuel pipe, and push them together until the fuel tube connector makes a "click" sound. If it is difficult to push the fuel pipe into the fuel tube connector, apply a small amount of clean engine oil to the tip of the fuel pipe and reinsert it.

![]() |
Pull |
After connecting the fuel lines, check that the fuel pipe and fuel tube connector are securely connected by pulling on them.
Engage the claw and install the No. 1 fuel pipe clamp. (for Vehicle Body Side)
Install the No. 1 fuel pipe clamp. (for Engine Side)
Inspect for fuel leaks.
Click hereEngine / Hybrid System>2NZ-FE FUEL>FUEL SYSTEM>ON-VEHICLE INSPECTION
Quick Type B:
Perform the following procedure when disconnecting a fuel tube connector.
- NOTICE:
-
Remove any dirt or foreign matter on the fuel tube connector and fuel pipe before performing this work.

*a | Retainer |
![]() |
Pull out |
![]() |
Pull off |
Pull out the retainer to disengage the lock claws and pull off the fuel tube connector.
- NOTICE:
-
Be sure to disconnect the fuel tube connector by hand.

*a | Retainer |
*b | O-ring |
*c | Fuel Tube Connector |
*d | Fuel Pipe |
If the fuel tube connector and fuel pipe are stuck, push and pull the fuel tube connector to release it. Pull the fuel tube connector off of the fuel pipe carefully.
- NOTICE:
- ·
Be sure to disconnect the fuel tube connector by hand.
·Do not allow any scratches or foreign matter to get on the parts when disconnecting them as the fuel tube connector has O-rings that seal the fuel pipe.
Check if there is any foreign matter on the sealing surfaces of the disconnected fuel lines. Clean them if necessary.
Cover the disconnected fuel pipe and fuel tube connector with plastic bags to prevent damage and contamination.
Quick Type B:
Perform the following procedure when connecting a fuel tube connector.
- NOTICE:
-
Check if there is any damage or foreign matter on the connecting parts of the fuel lines.

*a | Retainer |
![]() |
Push |
![]() |
Push in |
Align the fuel tube connector with the fuel pipe, and push them together until the fuel tube connector makes a "click" sound. If it is difficult to push the fuel pipe into the fuel tube connector, apply a small amount of clean engine oil to the tip of the fuel pipe and reinsert it.
Connect the fuel lines and push in the retainer. Check that the fuel pipe and fuel tube connector are securely connected by pulling on them.
Inspect for fuel leaks.
Click hereEngine / Hybrid System>2NZ-FE FUEL>FUEL SYSTEM>ON-VEHICLE INSPECTION
Quick Type C:
Perform the following procedure when disconnecting a fuel tube connector.
- NOTICE:
-
Remove any dirt or foreign matter on the fuel tube connector and fuel pipe before performing this work.

*a | Retainer |
*b | Claw |
![]() |
Push |
![]() |
Pull out |
![]() |
Pull off |
Disengage the 2 claws of the retainer. Pull out the retainer and disconnect the fuel tube connector from the fuel pipe.
- NOTICE:
-
Be sure to disconnect the fuel tube connector by hand.

*a | Retainer |
*b | Fuel Tube Connector |
*c | O-ring |
*d | Fuel Pipe |
If the fuel tube connector and fuel pipe are stuck, push and pull the fuel tube connector to release it. Pull the fuel tube connector off of the fuel pipe carefully.
- NOTICE:
- ·
Be sure to disconnect the fuel tube connector by hand.
·Do not allow any scratches or foreign matter to get on the parts when disconnecting them as the fuel tube connector has an O-ring that seals the fuel pipe.
Check if there is any foreign matter on the sealing surfaces of the disconnected fuel lines. Clean them if necessary.
Cover the disconnected fuel pipe and fuel tube connector with plastic bags to prevent damage and contamination.
Quick Type C:
Perform the following procedure when connecting a fuel tube connector.
- NOTICE:
-
Check if there is any damage or foreign matter on the connecting parts of the fuel lines.

*a | Retainer |
*b | Claw |
![]() |
Push |
![]() |
Push in |
Align the fuel tube connector with the fuel pipe, and push them together until the fuel tube connector makes a "click" sound. If it is difficult to push the fuel pipe into the fuel tube connector, apply a small amount of clean engine oil to the tip of the fuel pipe and reinsert it.
Connect the fuel lines and push in the retainer to engage the 2 claws. Check that the fuel pipe and fuel tube connector are securely connected by pulling on them.
Inspect for fuel leaks.
Click hereEngine / Hybrid System>2NZ-FE FUEL>FUEL SYSTEM>ON-VEHICLE INSPECTION

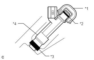
*a | Fuel Tube Connector |
*b | Nylon Tube |
*c | Ethylene Propylene Diene Monomer (EPDM) Rubber Protector |
Observe the following precautions when handling a nylon tube:
- NOTICE:
- ·
Do not twist the nylon tube of the fuel tube connector or fuel tube connector when connecting it.
·Do not remove the Ethylene Propylene Diene Monomer (EPDM) rubber protector on the outside of the nylon tube.
·Do not pinch or kink the nylon tubes to prevent fuel leaks.
FUEL INJECTOR ASSEMBLY

*1 | O-ring |
*2 | Fuel Delivery Pipe Sub-assembly |
*a | Correct |
*b | Incorrect |
Observe the following precautions when removing and installing the fuel injector assemblies:
Do not reuse the O-ring or injector vibration insulator.
When placing a new O-ring onto the fuel injector assembly, do not damage the O-ring.
Coat a new O-ring with gasoline or spindle oil before installing it.
- NOTICE:
-
Do not use engine oil, gear oil or brake fluid.

*1 | Fuel Delivery Pipe Sub-assembly |
*2 | O-ring |
*3 | Injector Vibration Insulator |
*4 | Fuel Injector Assembly |
Install the fuel injector assembly into the fuel delivery pipe sub-assembly and cylinder head sub-assembly as shown in the illustration.
- NOTICE:
-
Apply gasoline or spindle oil to the contact surfaces of the fuel delivery pipe sub-assembly and fuel injector assembly before installing it.
FUEL SUCTION TUBE WITH PUMP AND GAUGE ASSEMBLY

Do not disconnect the tube shown in the illustration when disassembling the fuel suction tube with pump and gauge assembly. Doing so will cause reassembly of the fuel suction tube with pump and gauge assembly to be impossible as the tube is pressed into the fuel suction plate sub-assembly.
When replacing the fuel filter, replace it together with the fuel suction plate sub-assembly.
INSPECT FOR FUEL LEAK
Check that there are no fuel leaks from the fuel system after doing any maintenance or repairs.
Click hereEngine / Hybrid System>2NZ-FE FUEL>FUEL SYSTEM>ON-VEHICLE INSPECTION