HEATING / AIR CONDITIONING  AIR CONDITIONING SYSTEM(for Manual Air Conditioning System)  B1412  Ambient Temperature Sensor Circuit  


DESCRIPTION

The thermistor assembly is installed in front of the cooler condenser assembly to detect the ambient temperature, which is used to control the air conditioning system. This sensor is connected to the combination meter assembly and detects fluctuations in the ambient temperature. This data is used for controlling the cabin temperature. The sensor sends a signal to the combination meter assembly. The resistance of the thermistor assembly changes in accordance with the ambient temperature. As the temperature decreases, the resistance increases. As the temperature increases, the resistance decreases.

The combination meter assembly applies voltage (5 V) to the thermistor assembly and reads voltage changes due to changes in the resistance of the thermistor assembly.

DTC No. Detection Item DTC Detection Condition Trouble Area Memory
B1412 Ambient Temperature Sensor Circuit Open or short in ambient temperature sensor circuit
·

Thermistor assembly

·

Harness or connector between thermistor assembly and combination meter assembly

·

Air conditioning amplifier assembly

·

Combination meter assembly

·

CAN communication system


Memorized
(4 sec. or more)*

*: The air conditioning amplifier assembly stores this DTC if the malfunction has occurred for the period of time indicated in the brackets.


WIRING DIAGRAM

E270948E07
0.417,1.917 0.75,2.083 0.333,0.167 10 false A17 0.417,2.083 1.833,2.25 1.417,0.167 10 false Thermistor Assembly 0.708,2.417 2.458,2.583 1.75,0.167 10 false : CAN Communication Line 2.75,1.917 3.083,2.083 0.333,0.167 10 false E43 2.75,2.083 4.667,2.25 1.917,0.167 10 false Combination Meter Assembly 5.333,1.917 5.667,2.083 0.333,0.167 10 false E7 5.333,2.083 6.927,2.417 1.594,0.333 10 false Air Conditioning Amplifier Assembly 5.646,0.542 6.094,0.708 0.448,0.167 10 false CANH 5.646,1.5 6.063,1.667 0.417,0.167 10 false CANL 3.719,0.552 4.167,0.719 0.448,0.167 10 false CANH 3.74,1.5 4.156,1.667 0.417,0.167 10 false CANL 3.167,0.552 3.583,0.719 0.417,0.167 10 false TX1+ 3.167,1.5 3.583,1.667 0.417,0.167 10 false TX1- 1.521,0.427 1.688,0.594 0.167,0.167 10 false 2 1.521,1.375 1.688,1.542 0.167,0.167 10 false 1 2.906,0.427 3.104,0.594 0.198,0.167 10 false 35 2.906,1.375 3.104,1.542 0.198,0.167 10 false 34 4.198,0.396 4.396,0.563 0.198,0.167 10 false 32 4.198,1.323 4.396,1.49 0.198,0.167 10 false 31 5.438,0.385 5.635,0.552 0.198,0.167 10 false 8 5.438,1.323 5.635,1.49 0.198,0.167 10 false 9

CAUTION / NOTICE / HINT

HINT:

If the ambient temperature is approximately -52.9°C (-63.22°F) or lower, DTC B1412 may be output even though the system is normal.

Click herePower Source / Network>NETWORKING>CAN COMMUNICATION SYSTEM>HOW TO PROCEED WITH TROUBLESHOOTING


PROCEDURE

1.READ VALUE USING GTS
a.

Connect the GTS to the DLC3.


b.

Turn the ignition switch to ON.


c.

Turn the GTS on.


d.

Enter the following menus: Body Electrical / Air Conditioner / Data List.


e.

Check the value(s) by referring to the table below.

Body Electrical > Air Conditioner > Data List
Tester Display Measurement Item Range Normal Condition Diagnostic Note
Ambient Temp Sensor Thermistor assembly Min.: -23.30°C (-9.94°F)
Max.: 65.95°C (150.71°F)
Actual ambient temperature displayed -
Body Electrical > Air Conditioner > Data List
Tester Display
Ambient Temp Sensor
50003 121 2
OK:

The display is as specified in the normal condition column.



Result:
Result Proceed to
NG A
OK (When troubleshooting according to Problem Symptoms Table) B
OK (When troubleshooting according to the DTC) C



A

2.INSPECT THERMISTOR ASSEMBLY

B

C

REPLACE AIR CONDITIONING AMPLIFIER ASSEMBLY

2.INSPECT THERMISTOR ASSEMBLY
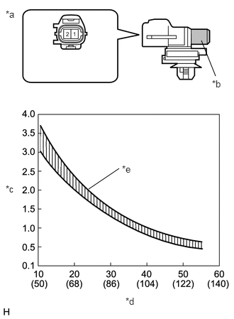
a.
E268073C01
3.167,1.115 2.958,0.594 false 1.75,2.469 1.302,2.771 false 0.083,0.125 0.396,0.448 0.313,0.323 10 *a 3.115,1.146 3.302,1.469 0.188,0.323 10 *b 0.083,2.688 0.396,3.01 0.313,0.323 10 *c 1.844,4.333 2.115,4.563 0.271,0.229 10 *d 1.792,2.396 2.063,2.625 0.271,0.229 10 *e
*a Component without harness connected
(Thermistor Assembly)
*b Sensing Portion
*c Resistance (kΩ)
*d Temperature (°C (°F))
*e Allowable Range


Remove the thermistor assembly.

Click hereVehicle Interior>HEATING / AIR CONDITIONING>AMBIENT TEMPERATURE SENSOR>REMOVAL


b.

Measure the resistance according to the value(s) in the table below.

Standard Resistance:
Tester Connection Condition Specified Condition
1 - 2 10°C (50°F) 3.00 to 3.73 kΩ
1 - 2 15°C (59°F) 2.45 to 2.88 kΩ
1 - 2 20°C (68°F) 1.95 to 2.30 kΩ
1 - 2 25°C (77°F) 1.60 to 1.80 kΩ
1 - 2 30°C (86°F) 1.28 to 1.47 kΩ
1 - 2 35°C (95°F) 1.00 to 1.22 kΩ
1 - 2 40°C (104°F) 0.80 to 1.00 kΩ
1 - 2 45°C (113°F) 0.65 to 0.85 kΩ
1 - 2 50°C (122°F) 0.50 to 0.70 kΩ
1 - 2 55°C (131°F) 0.44 to 0.60 kΩ
1 - 2 60°C (140°F) 0.36 to 0.50 kΩ


NOTICE:
·

Hold the sensor only by its connector. Touching the sensing portion may change the resistance value.

·

When measuring, the sensor temperature must be the same as the ambient temperature.



HINT:

As the temperature increases, the resistance decreases (see the graph).



Result:
Proceed to
OK
NG



OK

3.CHECK HARNESS AND CONNECTOR (THERMISTOR ASSEMBLY - COMBINATION METER ASSEMBLY)

NG

3.CHECK HARNESS AND CONNECTOR (THERMISTOR ASSEMBLY - COMBINATION METER ASSEMBLY)
a.

Disconnect the E43 combination meter assembly connector.


b.

Measure the resistance according to the value(s) in the table below.

Standard Resistance:
Tester Connection Condition Specified Condition
E43-35 (TX1+) - A17-2 Always Below 1 Ω
E43-34 (TX1-) - A17-1 Always Below 1 Ω
E43-35 (TX1+) - Body ground Always 10 kΩ or higher
E43-34 (TX1-) - Body ground Always 10 kΩ or higher



Result:
Proceed to
OK
NG



OK

4.REPLACE COMBINATION METER ASSEMBLY

NG

REPAIR OR REPLACE HARNESS OR CONNECTOR

4.REPLACE COMBINATION METER ASSEMBLY
a.

Replace the combination meter assembly.

Click hereVehicle Interior>METER / GAUGE / DISPLAY>COMBINATION METER>REMOVAL

HINT:

Since the combination meter assembly cannot be inspected while it is removed from the vehicle, replace the combination meter assembly with a new or known good one and check that the condition returns to normal.



b.

Check for DTCs.

Click hereVehicle Interior>HEATING / AIR CONDITIONING>AIR CONDITIONING SYSTEM(for Manual Air Conditioning System)>DTC CHECK / CLEAR

Body Electrical > Air Conditioner > Trouble Codes
50001 121

Result:
Result Proceed to
DTC B1412 is not output A
DTC B1412 is output B



A

END (COMBINATION METER ASSEMBLY WAS DEFECTIVE)

B

REPLACE AIR CONDITIONING AMPLIFIER ASSEMBLY