1ZR-FE INTAKE / EXHAUST  EXHAUST MANIFOLD  INSTALLATION  


PROCEDURE

Hide 17168 1.INSTALL NO. 2 EXHAUST MANIFOLD HEAT INSULATOR

a.

Install the No. 2 exhaust manifold heat insulator to the exhaust manifold with the 3 bolts.

Torque:
12 N*m (122 kgf*cm, 9 ft.*lbf)


Hide 17141 2.INSTALL EXHAUST MANIFOLD

a.

Install a new exhaust manifold to head gasket to the cylinder head sub-assembly.


b.

Temporarily install the exhaust manifold and manifold stay to the cylinder head sub-assembly and cylinder block sub-assembly with 5 new nuts and the 3 bolts.


c.

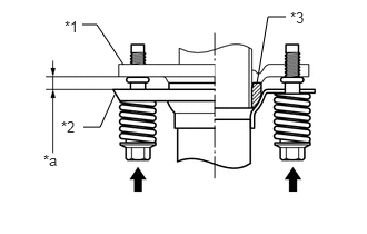
Tighten the 5 nuts in the order shown in the illustration.

A308394C01
5.542,0.625 6.698,1.969 1.156,1.344 4.281,0.625 5.438,1.969 1.156,1.344 4.802,1.771 5.115,1.969 0.313,0.198 10 false *a 6.052,1.781 6.365,1.979 0.313,0.198 10 false *b 4.344,0.698 4.635,0.948 0.292,0.25 12 false *A 5.615,0.698 5.906,0.948 0.292,0.25 12 false *B 1.75,0.458 1.906,0.656 0.156,0.198 10 false 1 1.469,0.292 1.625,0.49 0.156,0.198 10 false 2 2,0.292 2.156,0.49 0.156,0.198 10 false 3 0.302,1.25 0.458,1.448 0.156,0.198 10 false 4 3.208,1.167 3.365,1.365 0.156,0.198 10 false 5
*A Type A *B Type B
*a 18 mm (0.709 in.) *b 17 mm (0.669 in.)


Torque:
Type A : 37 N*m (377 kgf*cm, 27 ft.*lbf)
Type B : 26 N*m (265 kgf*cm, 19 ft.*lbf)


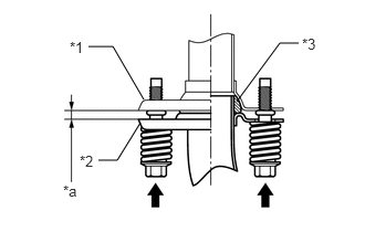
d.
A280323

Tighten the 3 bolts.

Torque:
43 N*m (438 kgf*cm, 32 ft.*lbf)


Hide 12321B 3.INSTALL DRIVE SHAFT HEAT INSULATOR SUB-ASSEMBLY

a.

Install the 2 drive shaft heat insulator sub-assemblies to the manifold stay with the 2 nuts.

Torque:
17.6 N*m (179 kgf*cm, 13 ft.*lbf)


Hide 17410 4.INSTALL FRONT EXHAUST PIPE ASSEMBLY (TWC: Front and Rear Catalyst)

a.
A128853

Using a vernier caliper, measure the free length of the compression springs.

Minimum (front) 41.5 mm (1.63 in.)
Minimum (rear) 38.5 mm (1.52 in.)

If the free length is less than minimum, replace the compression spring.


b.

Temporarily install 2 new gaskets to the exhaust manifold and front exhaust pipe assembly (TWC: Front and Rear Catalyst).


c.
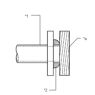
A181728C66
2.927,1.385 2.802,1.385 2.802,1.385 2.5,1.698 false 1.781,3.26 2.021,3.26 2.021,3.26 2.021,2.438 false 1.125,0.552 1.448,0.552 1.448,0.552 1.448,1.625 false 0.896,0.5 1.125,0.688 0.229,0.188 10 false *1 1.583,3.177 1.854,3.385 0.271,0.208 10 false *2 3.01,1.313 3.26,1.5 0.25,0.188 10 false *a
*1 Exhaust Manifold or Front Exhaust Pipe Assembly (TWC: Front and Rear Catalyst)
*2 Gasket
*a Wooden Block


Using a plastic hammer and wooden block, tap in each gasket until its surface is flush with the exhaust manifold and front exhaust pipe assembly (TWC: Front and Rear Catalyst).

NOTICE:
·

Be sure to install the gaskets in the correct direction.

·

Do not reuse the gaskets.

·

Do not damage the gaskets.

·

Do not push in the gaskets by using the exhaust pipes when connecting them.




d.

Connect the front exhaust pipe assembly (TWC: Front and Rear Catalyst) to the 2 exhaust pipe supports.


e.
A258941C31
2.406,0.781 2.51,0.156 2.51,0.156 2.677,0.156 false 0.771,0.229 0.906,0.229 0.906,0.229 1.156,0.604 false 0.781,1.188 0.938,1.188 0.938,1.188 1.073,0.885 false 0.406,1.417 0.802,1.615 0.396,0.198 10 false *a 0.604,0.167 0.99,0.396 0.385,0.229 10 false *1 0.573,1.104 0.927,1.26 0.354,0.156 10 false *2 2.719,0.083 3.094,0.271 0.375,0.188 10 false *3
*1 Exhaust Manifold
*2 Front Exhaust Pipe Assembly (TWC: Front and Rear Catalyst)
*3 Gasket
*a Space between Flanges: 8.5 mm (0.335 in.)


Install the front exhaust pipe assembly (TWC: Front and Rear Catalyst) to the exhaust manifold with the 2 bolts and 2 compression springs.

Torque:
43 N*m (438 kgf*cm, 32 ft.*lbf)

HINT:

After installation, check that the space between the flanges of the exhaust manifold and front exhaust pipe assembly (TWC: Front and Rear Catalyst) are consistent front-to-rear and left-to-right.



f.
A258966C21
0.833,0.438 1.063,0.438 1.063,0.438 1.354,0.938 false 2.229,0.958 2.635,0.406 2.635,0.406 2.813,0.406 false 0.927,1.51 1.104,1.51 1.104,1.51 1.323,1.156 false 0.594,1.719 0.896,1.885 0.302,0.167 10 false *a 0.656,0.365 1.094,0.552 0.438,0.188 10 false *1 0.75,1.438 1.063,1.615 0.313,0.177 10 false *2 2.844,0.333 3.208,0.51 0.365,0.177 10 false *3
*1 Tail Exhaust Pipe Assembly
*2 Front Exhaust Pipe Assembly (TWC: Front and Rear Catalyst)
*3 Gasket
*a Space between Flanges: 6.5 mm (0.256 in.)


Install the front exhaust pipe assembly (TWC: Front and Rear Catalyst) to the tail exhaust pipe assembly with the 2 compression springs and 2 bolts.

Torque:
43 N*m (438 kgf*cm, 32 ft.*lbf)

HINT:

After installation, check that the space between the flanges of the front exhaust pipe assembly (TWC: Front and Rear Catalyst) and tail exhaust pipe assembly are consistent front-to-rear and left-to-right.



g.

Engage the heated oxygen sensor grommet and clamp to the vehicle body.


Hide 5.CONNECT HEATED OXYGEN SENSOR CONNECTOR

Hide 58816B 6.INSTALL CONSOLE BOX INSERT

Hide 17167 7.INSTALL NO. 1 EXHAUST MANIFOLD HEAT INSULATOR

a.

Install the No. 1 exhaust manifold heat insulator to the exhaust manifold with the 4 bolts.

Torque:
12 N*m (122 kgf*cm, 9 ft.*lbf)