SUPPLEMENTAL RESTRAINT SYSTEMS  FRONT AIRBAG SENSOR  INSTALLATION  


CAUTION / NOTICE / HINT

HINT:
·

Use the same procedure for the RH side and LH side.

·

The following procedure is for the LH side.



PROCEDURE

Hide 89174A 1.INSTALL FRONT AIRBAG SENSOR

a.

Check that the ignition switch is off.


b.

Check that the cable is disconnected from the negative (-) battery terminal.

CAUTION:

Wait at least 90 seconds after disconnecting the cable from the negative (-) battery terminal to disable the SRS system.



c.

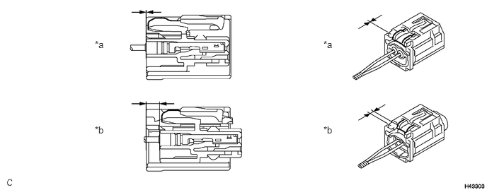
Before connecting the connector, check that the position of the white housing lock is correct as shown in the illustration.

B296255C01
4.76,1.833 5.042,2.073 0.281,0.24 10 false *b 1.396,1.833 1.729,2.125 0.333,0.292 10 false *b 4.76,0.573 5.052,0.885 0.292,0.313 10 false *a 1.396,0.573 1.656,0.844 0.26,0.271 10 false *a
*a Incorrect *b Correct



d.

Insert the front airbag sensor pin (stopper) into the body hole and install the front airbag sensor to the vehicle body with the bolt.

Torque:
9.0 N*m (92 kgf*cm, 80 in.*lbf)

NOTICE:
·

If the front airbag sensor has been dropped, or there are any cracks, dents or other defects in the case or connector, replace it with a new one.

·

When installing the front airbag sensor, be careful that the SRS wiring does not interfere with or is not pinched between other parts.

·

Make sure that the front airbag sensor pin (stopper) is securely inserted into the body hole.

·

Tighten the bolt while holding the front airbag sensor because the front airbag sensor pin (stopper) is easily damaged.




e.

Connect the connector to the front airbag sensor.

NOTICE:

When connecting any airbag connector, take care not to damage the airbag wire harness.


i.

Be sure to engage the connectors until they are locked (when locking, make sure that a click sound can be heard).

B312074C10
2.208,0.802 2.385,0.531 true 2.385,0.531 2.583,0.531 false 2.417,1.01 3,0.792 true 3.052,0.677 3.26,0.885 0.208,0.208 10 false *a 5.938,3.365 6.25,3.521 0.313,0.156 10 false *b 2.615,0.469 2.948,0.698 0.333,0.229 10 false A
*a White Housing Lock *b Connection is completed


HINT:

When engaged, the white housing lock will slide. Be sure not to hold the white housing lock or part (A), as it may result in an insecure fit.




f.

Check that there is no looseness in the installed parts of the front airbag sensor.


Hide 3.CONNECT CABLE TO NEGATIVE BATTERY TERMINAL

Hide 4.INSTALL FRONT BUMPER ASSEMBLY