2ZR-FE ENGINE MECHANICAL CYLINDER HEAD GASKET COMPONENTS
ILLUSTRATION
6,4.052 6.708,4.26
0.708,0.208
3.219,5.375 3.927,5.583
0.708,0.208
0.156,3.906 0.865,4.115
0.708,0.208
0.833,0.521 1.458,0.719
0.625,0.198
1,4.469 1.167,4.469
1.167,4.469 1.427,4.177
false
2.021,5.656 2.229,5.656
2.229,5.656 2.448,5.229
false
4.958,5.552 5.406,5.552
false
1.615,1.698 1.75,1.406
1.75,1.406 2.042,1.406
false
5.396,4.177 5.396,3.896
5.396,3.896 5.583,3.667
false
0.75,2.563 0.75,2.021
false
1.135,1.625 1.281,1.083
1.281,1.083 1.406,1.083
false
1.885,3.958 2.052,3.958
2.052,3.958 2.167,4.323
false
1.75,5.031 2.198,5.031
false
2.323,5.865 2.531,5.865
2.531,5.865 2.75,5.438
false
4.427,5.99 4.875,5.99
false
6.333,4.052 6.333,3.729
false
3.563,5.375 3.563,5.125
false
0.51,3.896 0.51,3.698
0.51,3.698 1.135,3.635
false
0.479,1.625 0.688,0.615
0.688,0.615 0.823,0.615
false
0.854,4.385 1.167,4.542
0.313,0.156
10
false
*1
1.854,5.573 2.167,5.729
0.313,0.156
10
false
*2
4.802,5.469 5.115,5.625
0.313,0.156
10
false
*3
1.74,3.875 2.052,4.031
0.313,0.156
10
false
*4
2.104,1.292 2.417,1.448
0.313,0.156
10
false
*5
5.323,4.219 5.635,4.375
0.313,0.156
10
false
*6
0.667,2.604 0.979,2.76
0.313,0.156
10
false
*7
1.635,0.99 1.948,1.146
0.313,0.156
10
false
*8
1.583,4.938 1.896,5.094
0.313,0.156
10
false
*9
2.094,5.771 2.563,5.927
0.469,0.156
10
false
*10
4.219,5.906 4.688,6.063
0.469,0.156
10
false
*11
1.49,0.99 1.646,1.146
0.156,0.156
10
false
●
1.438,4.927 1.594,5.083
0.156,0.156
10
false
●
1.938,5.771 2.094,5.927
0.156,0.156
10
false
●
6.052,4.073 7,4.365
0.948,0.292
8
false
21 (214, 15)
3.271,5.396 4.219,5.688
0.948,0.292
8
false
21 (214, 15)
0.208,3.938 1.156,4.229
0.948,0.292
8
false
21 (214, 15)
0.865,0.552 1.531,0.781
0.667,0.229
8
false
10 (102, 7)
6.438,3.583 6.896,3.781
0.458,0.198
10
false
x 2
2.865,5.271 3.323,5.469
0.458,0.198
10
false
x 4
2.604,5.063 3.063,5.26
0.458,0.198
10
false
x 4
2.281,4.896 2.74,5.094
0.458,0.198
10
false
x 4
1.177,3.719 1.635,3.917
0.458,0.198
10
false
x 2
0.385,1.708 0.844,1.906
0.458,0.198
10
false
x 2
4.063,5.906 4.219,6.063
0.156,0.156
10
false
●
2.292,4.25 2.75,4.448
0.458,0.198
10
false
x 2
| *1 | FUEL DELIVERY PIPE SUB-ASSEMBLY | *2 | FUEL INJECTOR ASSEMBLY |
| *3 | FUEL TUBE SUB-ASSEMBLY | *4 | NO. 1 DELIVERY PIPE SPACER |
| *5 | THERMOSTAT | *6 | VACUUM SURGE TANK |
| *7 | WATER INLET | *8 | GASKET |
| *9 | O-RING | *10 | INJECTOR VIBRATION INSULATOR |
| *11 | NO. 2 FUEL PIPE CLAMP | - | - |
|
N*m (kgf*cm, ft.*lbf): Specified torque | ● | Non-reusable part |
ILLUSTRATION
4.271,0.167 4.865,0.333
0.594,0.167
0.938,1.583 1.615,1.74
0.677,0.156
1,0.573 1.635,0.74
0.635,0.167
5.146,2.854 5.781,3.01
0.635,0.156
2.01,3.219 2.708,3.385
0.698,0.167
1.354,3.99 2.146,4.167
0.792,0.177
4.5,1.646 4.688,1.333
4.688,1.333 4.854,1.333
false
2.083,4.625 4.333,4.625
4.333,4.625 4.333,3.948
false
5.51,1.948 5.729,1.625
5.729,1.625 5.896,1.625
false
3.938,0.26 4.271,0.26
false
3.646,3.375 3.979,3.375
false
2.875,4.625 2.875,4.375
false
4.188,0.688 4.521,0.688
false
2.865,3.302 2.865,3.656
2.865,3.656 3.26,3.656
false
4.875,3.615 5.208,3.615
false
4.76,3.135 4.948,2.948
4.948,2.948 5.146,2.948
false
1.635,0.656 1.76,0.656
1.76,0.656 1.927,0.917
false
1.625,1.656 1.75,1.656
1.75,1.656 1.906,1.854
false
2.708,3.302 3.042,3.302
false
2.156,4.073 2.323,4.073
2.323,4.073 2.469,4.24
false
0.688,2.25 0.688,2.135
false
1.125,2.25 1.125,2.135
false
0.646,1.167 0.646,1.052
false
1.083,1.167 1.083,1.052
false
0.688,2.188 1.115,2.188
false
0.656,1.115 1.083,1.115
false
4.938,1.24 5.25,1.396
0.313,0.156
10
false
*1
5.281,3.521 5.594,3.677
0.313,0.156
10
false
*2
4.042,3.281 4.354,3.438
0.313,0.156
10
false
*3
4.583,0.594 4.896,0.75
0.313,0.156
10
false
*4
1.906,4.542 2.219,4.698
0.313,0.156
10
false
*5
6.125,1.531 6.438,1.688
0.313,0.156
10
false
*6
5.958,1.521 6.115,1.677
0.156,0.156
10
false
●
0.771,1.573 0.927,1.729
0.156,0.156
10
false
●
4.302,0.177 4.99,0.313
0.688,0.135
8
false
12 (122, 9)
1.021,0.583 1.698,0.771
0.677,0.188
8
false
37 (377, 27)
0.969,1.594 1.656,1.729
0.688,0.135
8
false
26 (265, 19)
5.188,2.854 5.854,3.01
0.667,0.156
8
false
10 (102, 7)
2.052,3.24 2.729,3.385
0.677,0.146
8
false
43 (438, 32)
1.396,4.01 2.146,4.167
0.75,0.156
8
false
17.6 (179, 13)
1.896,1.083 2.354,1.281
0.458,0.198
10
false
x 5
1.885,1.979 2.344,2.177
0.458,0.198
10
false
x 5
3.26,3.802 3.719,4
0.458,0.198
10
false
x 2
2.438,4.302 2.896,4.5
0.458,0.198
10
false
x 2
4.885,3.115 5.344,3.313
0.458,0.198
10
false
x 4
4.969,3.688 5.427,3.885
0.458,0.198
10
false
x 4
0.521,0.417 0.896,0.656
0.375,0.24
12
false
*A
0.5,1.5 0.813,1.698
0.313,0.198
12
false
*B
0.792,1.146 1.104,1.344
0.313,0.198
10
false
*a
0.823,2.229 1.135,2.427
0.313,0.198
10
false
*b
0.833,0.552 0.99,0.708
0.156,0.156
10
false
●
4.021,0.323 4.479,0.521
0.458,0.198
10
false
x 4
| *A | Type A | *B | Type B |
| *1 | EXHAUST MANIFOLD | *2 | IGNITION COIL ASSEMBLY |
| *3 | MANIFOLD STAY | *4 | NO. 1 EXHAUST MANIFOLD HEAT INSULATOR |
| *5 | DRIVE SHAFT HEAT INSULATOR SUB-ASSEMBLY | *6 | EXHAUST MANIFOLD TO HEAD GASKET |
| *a | 18 mm (0.709 in.) | *b | 17 mm (0.669 in.) |
|
N*m (kgf*cm, ft.*lbf): Specified torque | ● | Non-reusable part |
ILLUSTRATION
3.563,3.656 4.25,3.854
0.688,0.198
5.625,3.573 6.313,3.771
0.688,0.198
2.708,3.448 4.854,5.438
2.146,1.99
4.917,3.448 7.115,5.448
2.198,2
1.667,6.354 2.354,6.552
0.688,0.198
4.635,5.604 5.323,5.802
0.688,0.198
5.625,7.052 6.313,7.25
0.688,0.198
1.719,8.271 2.406,8.469
0.688,0.198
4.302,1.25 5,1.25
false
4.646,1.979 5.344,1.979
false
3.094,4.25 3.792,4.25
false
3.177,4.906 3.688,4.906
false
4.469,5.156 4.469,4.708
false
6.573,5.125 6.573,4.677
false
5.448,4.208 5.854,4.208
false
4.521,4.063 4.469,3.75
4.469,3.75 4.26,3.75
false
6.573,3.979 6.521,3.667
6.521,3.667 6.313,3.667
false
5.354,4.74 5.865,4.74
false
1.906,5.854 1.906,5.406
false
0.469,6.052 0.823,6.052
false
0.917,7.49 0.917,7.042
false
1.313,6.458 1.667,6.458
false
1.802,7.615 2.073,7.615
2.073,7.615 2.229,7.24
false
1.927,7.948 2.198,7.948
2.198,7.948 2.448,7.417
false
4.635,5.698 3.615,5.698
3.615,5.698 3.615,5.885
false
4.177,6.198 4.177,5.698
false
4.323,6.729 4.677,6.729
false
5.26,7.156 5.615,7.156
false
5.76,7.563 6.115,7.563
false
2.406,8.375 2.677,8.375
2.677,8.375 2.865,8.094
false
3,8.635 3.271,8.635
3.271,8.635 3.458,8.354
false
2.792,3.521 3.198,3.781
0.406,0.26
12
false
*A
4.99,3.5 5.375,3.813
0.385,0.313
12
false
*B
0.302,5.969 0.615,6.125
0.313,0.156
10
false
*1
2.823,8.552 3.135,8.708
0.313,0.156
10
false
*2
2.938,4.167 3.25,4.323
0.313,0.156
10
false
*3
2.979,4.823 3.292,4.979
0.313,0.156
10
false
*4
5.052,1.177 5.365,1.333
0.313,0.156
10
false
*5
6.146,7.49 6.458,7.646
0.313,0.156
10
false
*6
5.406,1.906 5.719,2.063
0.313,0.156
10
false
*7
1.854,5.875 2.167,6.031
0.313,0.156
10
false
*8
4.729,6.656 5.042,6.813
0.313,0.156
10
false
*9
1.521,7.552 1.99,7.708
0.469,0.156
10
false
*10
4.365,5.188 4.833,5.344
0.469,0.156
10
false
*11
0.885,7.51 1.354,7.667
0.469,0.156
10
false
*12
1.656,7.875 2.125,8.031
0.469,0.156
10
false
*13
0.74,7.51 0.896,7.667
0.156,0.156
10
false
●
5.281,4.135 5.594,4.292
0.313,0.156
10
false
*3
6.479,5.167 6.948,5.323
0.469,0.156
10
false
*11
6.656,3.917 7.115,4.115
0.458,0.198
10
false
x 2
4.615,4 5.073,4.198
0.458,0.198
10
false
x 2
5.667,3.604 6.406,3.906
0.74,0.302
8
false
21 (214, 15)
3.604,3.677 4.344,3.979
0.74,0.302
8
false
21 (214, 15)
5.198,4.667 5.51,4.823
0.313,0.156
10
false
*4
1.708,6.385 2.448,6.688
0.74,0.302
8
false
21 (214, 15)
1.385,7.552 1.542,7.708
0.156,0.156
10
false
●
4.708,5.635 6.063,5.792
1.354,0.156
8
false
10 (102, 7)
5.198,7.24 5.656,7.438
0.458,0.198
10
false
x 2
5.667,7.073 6.406,7.375
0.74,0.302
8
false
28 (286, 21)
2.979,7.979 3.438,8.177
0.458,0.198
10
false
x 5
1.76,8.302 2.5,8.604
0.74,0.302
8
false
28 (286, 21)
| *A | for Manual Transaxle | *B | for CVT |
| *1 | ENGINE OIL LEVEL DIPSTICK GUIDE | *2 | INTAKE MANIFOLD |
| *3 | NO. 1 WATER BY-PASS PIPE | *4 | NO. 3 WATER BY-PASS HOSE |
| *5 | VENTILATION HOSE | *6 | NO. 1 WATER BY-PASS HOSE |
| *7 | WATER INLET HOSE | *8 | ENGINE OIL LEVEL DIPSTICK |
| *9 | AIR TUBE | *10 | NO. 1 INTAKE MANIFOLD TO HEAD GASKET |
| *11 | NO. 2 WATER BY-PASS HOSE | *12 | O-RING |
| *13 | INTAKE MANIFOLD STAY | - | - |
|
N*m (kgf*cm, ft.*lbf): Specified torque | ● | Non-reusable part |
ILLUSTRATION
3.885,0.365 4.552,0.563
0.667,0.198
5.469,0.635 6.135,0.833
0.667,0.198
4.781,1.563 5.479,1.563
false
2.25,0.625 2.531,0.625
2.531,0.625 3.094,1.208
false
1.615,2.51 2.438,2.51
false
2.26,2.521 2.26,2.708
2.26,2.708 2.781,2.708
false
2.958,2.521 3.5,2.521
false
4.833,2.958 5.333,2.958
false
3.115,0.896 3.115,0.458
3.115,0.458 3.885,0.458
false
4.729,0.938 4.729,0.729
4.729,0.729 5.469,0.729
false
5.563,2.906 5.875,3.063
0.313,0.156
10
false
*1
5.5,1.458 5.813,1.615
0.313,0.156
10
false
*2
2.073,0.531 2.385,0.688
0.313,0.156
10
false
*3
3.708,2.406 4.021,2.563
0.313,0.156
10
false
*4
3.563,2.406 3.719,2.563
0.156,0.156
10
false
●
1.438,2.406 1.75,2.563
0.313,0.156
10
false
*4
1.281,2.396 1.438,2.552
0.156,0.156
10
false
●
4.813,0.927 5.427,1.125
0.615,0.198
10
false
x 12
3.948,0.396 5.302,0.552
1.354,0.156
8
false
10 (102, 7)
5.542,0.656 6.896,0.813
1.354,0.156
8
false
10 (102, 7)
5.406,2.896 5.563,3.052
0.156,0.156
10
false
●
1.927,0.531 2.083,0.688
0.156,0.156
10
false
●
| *1 | CYLINDER HEAD COVER GASKET | *2 | CYLINDER HEAD COVER SUB-ASSEMBLY |
| *3 | SEAL WASHER | *4 | GASKET |
|
N*m (kgf*cm, ft.*lbf): Specified torque | ● | Non-reusable part |
ILLUSTRATION
2.052,7.333 2.75,7.552
0.698,0.219
0.51,6.198 1.406,6.427
0.896,0.229
1.969,4.021 2.615,4.25
0.646,0.229
0.458,5.24 1.271,5.417
0.813,0.177
2.313,3.302 3.125,3.479
0.813,0.177
2.156,2.948 2.833,3.125
0.677,0.177
1.74,2.646 2.552,2.823
0.813,0.177
0.479,2.177 1.156,2.354
0.677,0.177
2.906,0.115 3.583,0.292
0.677,0.177
0.469,0.542 1.115,0.771
0.646,0.229
0.385,4.115 1.031,4.344
0.646,0.229
1.125,0.667 1.417,0.667
false
2.479,0.719 2.656,0.198
2.656,0.198 2.896,0.198
false
3,0.833 3.115,0.573
3.115,0.573 3.26,0.573
false
2.698,1.219 2.698,0.979
false
3.625,1.063 3.333,1.063
false
4.427,1.833 4.135,1.833
false
0.854,1.844 0.854,2.167
false
1.552,2.031 1.552,2.354
false
0.906,3.063 0.688,3.063
0.688,3.063 0.688,4.115
false
1.146,3.906 0.688,3.906
false
0.927,4.833 0.927,5.24
false
1.354,5.219 1.354,5.604
false
1.563,3.448 1.281,3.448
false
2.594,2.406 2.177,2.521
2.177,2.521 2.177,2.635
false
3,3.031 2.833,3.031
false
3.458,3.542 3.25,3.396
3.25,3.396 3.125,3.396
false
2.833,3.906 2.76,4.125
2.76,4.125 2.615,4.125
false
3.344,3.823 3.167,4.406
3.167,4.406 2.958,4.406
false
3.729,4.542 3.729,5.063
3.729,5.063 3.844,5.063
false
3.844,4.792 3.844,5.208
false
3.115,6.031 3.5,6.031
false
1.906,5.896 2.292,5.896
false
1.406,6.313 1.792,6.313
false
2.75,7.427 3.135,7.427
false
3.052,6.896 3.438,6.896
false
4.333,6.906 4.719,6.906
false
1.729,5.802 2.042,5.958
0.313,0.156
10
false
*1
3.323,0.5 3.635,0.656
0.313,0.156
10
false
*2
3.719,5.948 4.031,6.104
0.313,0.156
10
false
*3
4.5,1.76 4.813,1.917
0.313,0.156
10
false
*4
1.479,2.385 1.792,2.542
0.313,0.156
10
false
*5
2.615,1.26 2.927,1.417
0.313,0.156
10
false
*6
1.271,5.646 1.583,5.802
0.313,0.156
10
false
*7
2.771,4.333 3.083,4.49
0.313,0.156
10
false
*8
2.844,6.823 3.156,6.979
0.313,0.156
10
false
*9
3.771,5.26 4.24,5.417
0.469,0.156
10
false
*10
4.99,6.844 5.458,7
0.469,0.156
10
false
*11
0.479,0.813 0.948,0.969
0.469,0.156
10
false
*12
3.854,0.969 4.323,1.125
0.469,0.156
10
false
*13
0.542,6.479 1.01,6.635
0.469,0.156
10
false
*14
3.719,0.969 3.875,1.125
0.156,0.156
10
false
●
3.594,5.24 3.75,5.396
0.156,0.156
10
false
●
2.583,4.344 2.74,4.5
0.156,0.156
10
false
●
3.573,5.938 3.729,6.094
0.156,0.156
10
false
●
4.823,6.823 4.979,6.979
0.156,0.156
10
false
●
2.104,7.385 3.573,7.542
1.469,0.156
8
false
21 (214, 15)
0.542,6.25 2.375,6.406
1.833,0.156
8
false
190 (1937, 140)
2.021,4.063 3.375,4.219
1.354,0.156
8
false
10 (102, 7)
0.531,5.25 2.031,5.396
1.5,0.146
8
false
25.5 (260, 19)
2.396,3.333 3.896,3.479
1.5,0.146
8
false
25.5 (260, 19)
2.188,2.969 3.656,3.125
1.469,0.156
8
false
51 (520, 38)
1.792,2.667 3.292,2.813
1.5,0.146
8
false
25.5 (260, 19)
1.552,2.667 1.708,2.823
0.156,0.156
10
false
★
0.521,2.219 1.99,2.375
1.469,0.156
8
false
51 (520, 38)
2.979,0.125 4.333,0.281
1.354,0.156
8
false
12 (122, 9)
2.563,0.635 3.021,0.833
0.458,0.198
10
false
x 2
0.521,0.594 1.875,0.75
1.354,0.156
8
false
10 (102, 7)
0.958,1.813 1.417,2.01
0.458,0.198
10
false
x 3
2.667,2.458 3.125,2.656
0.458,0.198
10
false
x 2
3.146,3.01 3.604,3.208
0.458,0.198
10
false
x 4
3.625,3.542 3.969,3.74
0.344,0.198
10
true
x 12
1.031,4.802 1.49,5
0.458,0.198
10
false
x 4
3.302,7.396 3.76,7.594
0.458,0.198
10
false
x 3
0.406,4.156 1.875,4.313
1.469,0.156
8
false
21 (214, 15)
1.021,3.385 1.479,3.583
0.458,0.198
10
false
*15
| *1 | CRANKSHAFT PULLEY | *2 | NO. 1 CHAIN TENSIONER ASSEMBLY |
| *3 | TIMING CHAIN COVER OIL SEAL | *4 | TIMING CHAIN COVER SUB-ASSEMBLY |
| *5 | ENGINE MOUNTING BRACKET RH | *6 | BRACKET |
| *7 | OIL FILTER BRACKET | *8 | SEAL WASHER |
| *9 | ENGINE WATER PUMP ASSEMBLY | *10 | O-RING |
| *11 | WATER PUMP GASKET | *12 | STUD BOLT |
| *13 | GASKET | *14 | CRANKSHAFT PULLEY SET BOLT |
| *15 | V-RIBBED BELT TENSIONER ASSEMBLY | - | - |
|
N*m (kgf*cm, ft.*lbf): Specified torque | ● | Non-reusable part |
|
MP Grease |
|
Adhesive 1324 |
|
Do not apply lubricants to the threaded parts | ★ | Precoated part |
ILLUSTRATION
2.021,0.635 2.677,0.823
0.656,0.188
1.729,3.323 2.427,3.51
0.698,0.188
2.677,0.74 3.708,0.74
false
3.75,1.635 4.229,1.635
false
4.146,1.646 4.146,1.729
4.146,1.729 4.354,1.729
false
4.333,2.938 4.333,2.604
false
3.469,3.323 3.917,3.323
false
2.167,2.177 2.552,2.177
false
3.573,4.719 3.885,4.719
false
3.635,0.51 4.031,0.51
false
2.427,3.427 2.99,3.427
false
3.396,4.635 3.708,4.792
0.313,0.156
10
false
*1
2.01,2.094 2.323,2.25
0.313,0.156
10
false
*2
4,3.25 4.313,3.406
0.313,0.156
10
false
*3
3.458,0.406 3.771,0.563
0.313,0.156
10
false
*4
3.583,1.542 3.854,1.75
0.271,0.208
10
false
*5
3.427,1.531 3.583,1.688
0.156,0.156
10
false
●
4.375,2.938 4.688,3.094
0.313,0.156
10
false
*5
4.219,2.927 4.375,3.083
0.156,0.156
10
false
●
2.083,0.656 3.438,0.813
1.354,0.156
8
false
10 (102, 7)
3.688,0.76 4.146,0.958
0.458,0.198
10
false
x 2
3,3.5 3.458,3.698
0.458,0.198
10
false
x 2
1.781,3.344 3.25,3.5
1.469,0.156
8
false
21 (214, 15)
| *1 | CHAIN SUB-ASSEMBLY | *2 | CHAIN TENSIONER SLIPPER |
| *3 | NO. 1 CHAIN VIBRATION DAMPER | *4 | NO. 2 CHAIN VIBRATION DAMPER |
| *5 | O-RING | - | - |
|
N*m (kgf*cm, ft.*lbf): Specified torque | ● | Non-reusable part |
ILLUSTRATION
2.969,0.625 3.698,0.854
0.729,0.229
4.542,0.323 5.26,0.531
0.719,0.208
5.365,4.26 6.156,4.469
0.792,0.208
5.01,0.771 5.771,0.969
0.76,0.198
0.167,4.625 0.938,4.844
0.771,0.219
4.323,0.417 4.542,0.417
false
5.156,4.344 5.365,4.344
false
4.781,0.875 5.01,0.875
false
3.167,4.5 3.542,4.229
3.542,4.229 3.781,4.229
false
4.885,6.365 5.24,6.854
5.24,6.854 5.333,6.854
false
4.688,3.646 5.135,3.646
false
3.146,3.646 3.615,3.063
3.615,3.063 3.802,3.063
false
2.5,0.979 2.802,0.719
2.802,0.719 2.969,0.719
false
1.198,4.729 0.938,4.729
false
2.115,2.021 2.313,2.021
2.313,2.021 2.5,2.448
false
2.146,3.583 2.281,3.583
2.281,3.583 2.521,3.292
false
3.198,2.094 3.198,2.219
3.198,2.219 5.198,2.219
false
3.677,1.885 3.677,2.219
false
4.115,1.771 4.115,2.219
false
4.521,1.646 4.521,2.219
false
4.958,1.521 4.958,2.219
false
4.677,2.656 4.563,2.656
4.563,2.656 4.146,2.49
false
4.844,5.906 5.208,5.479
5.208,5.479 5.354,5.479
false
2.083,5.969 2.323,5.969
2.323,5.969 2.667,5.479
false
3.031,0.667 3.771,0.823
0.74,0.156
8
false
27 (275, 20)
4.594,0.354 5.292,0.479
0.698,0.125
8
false
27 (275, 20)
2.552,1.208 2.771,1.354
0.219,0.146
10
false
x 3
4.385,0.604 4.813,0.781
0.427,0.177
10
false
x 12
4.854,0.99 5.26,1.198
0.406,0.208
10
false
x 10
5,5.875 5.469,6.063
0.469,0.188
10
false
x 16
4.99,6.24 5.521,6.427
0.531,0.188
10
false
x 16
5.448,4.302 6.26,4.458
0.813,0.156
8
false
27 (275, 20)
5.052,0.802 5.74,0.927
0.688,0.125
8
false
16 (163, 12)
0.25,4.656 0.969,4.781
0.719,0.125
8
false
27 (275, 20)
5.198,3.583 5.51,3.74
0.313,0.156
10
false
*1
1.844,5.896 2.156,6.052
0.313,0.156
10
false
*2
1.938,1.938 2.25,2.094
0.313,0.156
10
false
*3
5.427,5.406 5.74,5.563
0.313,0.156
10
false
*4
4.74,2.583 5.052,2.74
0.313,0.156
10
false
*5
1.958,3.531 2.271,3.688
0.313,0.156
10
false
*6
5.385,6.781 5.698,6.938
0.313,0.156
10
false
*7
5.26,2.146 5.573,2.302
0.313,0.156
10
false
*8
3.865,3 4.177,3.156
0.313,0.156
10
false
*3
3.854,4.156 4.167,4.313
0.313,0.156
10
false
*6
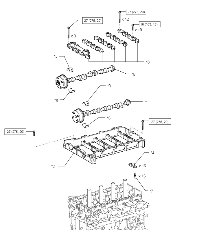
| *1 | CAMSHAFT | *2 | CAMSHAFT HOUSING SUB-ASSEMBLY |
| *3 | NO. 1 CAMSHAFT BEARING | *4 | NO. 1 VALVE ROCKER ARM SUB-ASSEMBLY |
| *5 | NO. 2 CAMSHAFT | *6 | NO. 2 CAMSHAFT BEARING |
| *7 | VALVE LASH ADJUSTER ASSEMBLY | *8 | CAMSHAFT BEARING CAP |
|
N*m (kgf*cm, ft.*lbf): Specified torque | - | - |
ILLUSTRATION
1.188,0.604 1.49,0.792
0.302,0.188
1.969,0.677 1.5,0.677
false
2,1.281 1.708,1.76
1.708,1.76 1.635,1.76
false
2.927,2.26 2.594,2.677
2.594,2.677 2.51,2.677
false
4.729,3.083 5.135,3.583
5.135,3.583 5.25,3.583
false
2.104,0.813 2.542,1
0.438,0.188
10
false
x 10
2.125,1.135 2.552,1.313
0.427,0.177
10
false
x 10
5.438,3.521 5.75,3.677
0.313,0.156
10
false
*1
2.323,2.604 2.635,2.76
0.313,0.156
10
false
*2
1.406,1.698 1.719,1.854
0.313,0.156
10
false
*3
5.292,3.521 5.448,3.677
0.156,0.156
10
false
●
1.229,0.615 1.698,0.771
0.469,0.156
10
false
*T1
1.188,0.823 1.5,1.021
0.313,0.198
10
false
*4
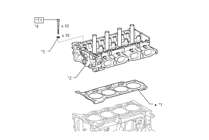
| *1 | CYLINDER HEAD GASKET | *2 | CYLINDER HEAD SUB-ASSEMBLY |
| *3 | PLATE WASHER | *4 | CYLINDER HEAD SET BOLT |
|
N*m (kgf*cm, ft.*lbf): Specified torque | ● | Non-reusable part |
| *T1 | 1st: 49 (500, 36)
2nd: Turn 90° 3rd: Turn 45° |
- | - |