STEERING COLUMN  STEERING COLUMN ASSEMBLY  REASSEMBLY  


PROCEDURE

Hide 80960 1.INSTALL POWER STEERING MOTOR ASSEMBLY

NOTICE:
·

Do not drop the power steering motor assembly, strike it with tools or subject it to impacts.

·

If the power steering motor assembly is subjected to an impact, replace it with a new one.

·

Do not pull the wire harness of the power steering motor assembly.

·

Do not allow any moisture to come into contact with the power steering motor assembly.

·

Do not loosen any bolts not mentioned in the procedure.

·

Do not allow any foreign matter to contaminate the power steering motor assembly.



a.
C239587C01
0,0 0,0 false
V100135

Grease


Apply grease to the serrated part of the electric power steering column sub-assembly.

NOTICE:

First wipe off the existing grease from the serrated part, and then apply the dedicated grease supplied with a new power steering motor assembly or electric power steering column sub-assembly.



b.

Temporarily install the power steering motor assembly to the electric power steering column sub-assembly with the 2 bolts.

NOTICE:

When temporarily installing the 2 bolts to the power steering motor assembly, do not tighten them all the way down.



c.
C269254C03
2.302,1.313 2.594,1.313 false 2.313,1.521 2.469,1.521 false 2.313,1.75 2.469,1.75 2.469,1.75 2.469,1.323 false 0.917,0.979 1.271,0.979 false 2.635,1.25 2.948,1.406 0.313,0.156 10 false *b 0.729,0.917 1.042,1.073 0.313,0.156 10 false *a
*a Cloth
*b Wooden Block


Secure the steering column assembly in a vise using aluminum plates, cloths and wooden blocks.

NOTICE:
·

Do not overtighten the vise, as the steering column assembly may become deformed.

·

Secure the power steering motor assembly so that it is upright.

·

Support the steering column assembly with wooden blocks or similar items to ensure that it does not fall.




d.
C269996C01
1.885,1.01 2.5,1.01 true 2.542,0.948 3,1.146 0.458,0.198 10 SST

Using SST, turn the steering main shaft once 180 degrees to the left and then 180 degrees to the right at a speed of 60 rpm, and repeat 2 to 3 times to adjust the axis centering of the power steering motor assembly.

SST
09616-00011  


e.

Tighten the 2 bolts.

Torque:
18.5 N*m (189 kgf*cm, 14 ft.*lbf)


f.
C269997C01
1.875,1.031 2.552,1.031 true 2.615,0.958 3.073,1.156 0.458,0.198 10 SST

Using SST and a torque wrench, measure the turning torque of the steering main shaft.

SST
09616-00011  

Preload:

0.8 to 1.4 N*m (8 to 14 kgf*cm, 7 to 12 in.*lbf)


NOTICE:

Ensure that there is no abnormal resistance during rotation.


If the turning torque is not as specified, readjust the axis centering of the power steering motor assembly.


g.

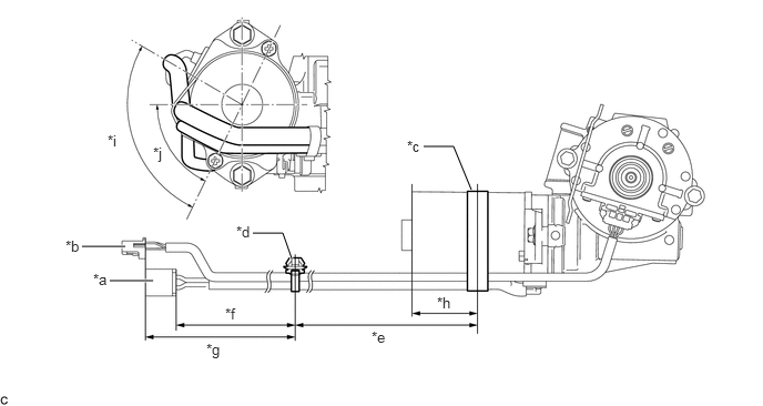
Apply new tape and install a new clamp to the wire harness as shown in the illustration.

C268083C02
1.031,2.635 1.438,2.635 true 0.771,2.313 1.177,2.313 true 3.979,1.375 4.26,1.375 4.26,1.375 4.427,1.781 true 2.375,2.188 2.656,2.188 2.656,2.188 2.74,2.427 true 0.875,2.542 1.188,2.698 0.313,0.156 10 false *a 0.615,2.229 0.927,2.385 0.313,0.156 10 false *b 3.823,1.292 4.135,1.448 0.313,0.156 10 false *c 2.219,2.094 2.531,2.25 0.313,0.156 10 false *d 3.49,3.083 3.802,3.24 0.313,0.156 10 false *e 2.115,2.865 2.427,3.021 0.313,0.156 10 false *f 1.938,3.198 2.26,3.458 0.323,0.26 10 false *g 4.104,2.76 4.417,2.917 0.313,0.156 10 false *h 1.01,1.24 1.323,1.396 0.313,0.156 10 false *i 1.438,1.354 1.76,1.615 0.323,0.26 10 false *j
*a Power Steering Motor Wire Harness *b Torque Sensor Wire Harness
*c Tape *d Clamp
*e 170 to 190 mm (6.70 to 7.48 in.) *f 240 to 260 mm (9.45 to 10.2 in.)
*g 225 to 245 mm (8.86 to 9.64 in.) *h 50 to 70 mm (1.97 to 2.75 in.)
*i 95° or less *j 65° or less


NOTICE:
·

Wrap the tape at least 2 turns.

·

Secure the power steering motor wire harness to the power steering motor assembly within the range indicated by *i.

·

Secure the torque sensor wire harness to the power steering motor assembly within the range indicated by *j.




h.

Cut off the excess length of the clamp.


Hide 84052 2.INSTALL UN-LOCK WARNING SWITCH ASSEMBLY

a.

Engage the 2 claws to install the un-lock warning switch assembly to the upper steering column bracket assembly.


Hide 85432 3.INSTALL KEY INTERLOCK SOLENOID (for Automatic Transaxle and CVT)

a.

Engage the claw to install the key interlock solenoid to the steering column upper bracket assembly.


b.

Install the screw.


Hide 84450 4.INSTALL IGNITION OR STARTER SWITCH ASSEMBLY

a.

Install the ignition or starter switch assembly to the upper steering column bracket assembly with the 2 screws.


Hide 81870D 5.INSTALL KEY CYLINDER LIGHT ASSEMBLY (w/o Engine Immobiliser System)

a.

Engage the 2 claws to install the key cylinder light assembly.


Hide 89782 6.INSTALL TRANSPONDER KEY COIL (w/ Engine Immobiliser System)

HINT:

Perform the same procedure as for the key cylinder light assembly.


Hide 7.INSTALL UPPER STEERING COLUMN BRACKET WITH SWITCH ASSEMBLY

a.

Secure the steering column assembly in a vise between aluminum plates.

NOTICE:

Do not overtighten the vise.



b.
C290252

Temporarily install the upper steering column bracket with switch assembly with a new steering lock set bolt.


c.

Tighten the steering lock set bolt until the bolt head breaks off.


Hide 8.INSTALL STEERING COLUMN PROTECTOR (for Manual Transaxle)

a.

Install the steering column protector with the bolt.

Torque:
25 N*m (255 kgf*cm, 18 ft.*lbf)