2NZ-FE ENGINE CONTROL SFI SYSTEM P2118 Throttle Actuator Control Motor Current Range / Performance
DESCRIPTION
The electronic throttle control system has a dedicated power supply circuit. The voltage (+BM) is monitored and when it is low (less than 4 V), the ECM determines that there is a malfunction in the electronic throttle control system and cuts off the current to the throttle actuator.
When the voltage becomes unstable, the electronic throttle control system itself becomes unstable. For this reason, when the voltage is low, the current to the throttle actuator is cut. If repairs are made and the system returns to normal, turn the ignition switch off. The ECM then allows the current to flow to the throttle actuator so that it can be restarted.
- HINT:
-
The electronic throttle control system does not use a throttle cable.

DTC No. | Detection Item | DTC Detection Condition | Trouble Area | MIL | Memory |
---|---|---|---|---|---|
P2118 | Throttle Actuator Control Motor Current Range / Performance | An open in the electronic throttle control system power source (+BM) circuit (1 trip detection logic). | ·
Open in electronic throttle control system power source circuit ·
Battery ·
Battery terminals ·
ETCS fuse ·
ECM |
Comes on | DTC stored |
MONITOR DESCRIPTION
The ECM monitors the battery supply voltage applied to the throttle actuator.
When the power supply voltage (+BM) is less than 4 V for 0.8 seconds or more, the ECM interprets this as an open in the power supply circuit (+BM). The ECM then illuminates the MIL and stores this DTC.
MONITOR STRATEGY
Required Sensors/Components | Throttle actuator
Throttle valve (throttle body with motor assembly) ETCS fuse |
Frequency of Operation | Continuous |
CONFIRMATION DRIVING PATTERN

Connect the GTS to the DLC3.
Turn the ignition switch to ON and turn the GTS on.
Clear the DTCs (even if no DTCs are stored, perform the clear DTC procedure).
Turn the ignition switch off and wait for at least 30 seconds.
Turn the ignition switch to ON and turn the GTS on [A].
Start the engine.
Slowly depress the accelerator pedal, raise the engine speed to approximately 3000 rpm over approximately 5 seconds, and then idle the engine [B].
Check that 16 seconds or more have elapsed since the engine was started.
Enter the following menus: Powertrain / Engine and ECT / Trouble Codes [C].
Read the pending DTCs.
- HINT:
- ·
If a pending DTC is output, the system is malfunctioning.
·If a pending DTC is not output, perform the following procedure.
Enter the following menus: Powertrain / Engine and ECT / Utility / All Readiness.
Input the DTC: P2118.
Check the DTC judgment result.
GTS Display | Description |
---|---|
NORMAL | ·
DTC judgment completed ·
System normal |
ABNORMAL | ·
DTC judgment completed ·
System abnormal |
INCOMPLETE | ·
DTC judgment not completed ·
Perform driving pattern after confirming DTC enabling conditions |
N/A | ·
Unable to perform DTC judgment ·
Number of DTCs which do not fulfill DTC preconditions has reached ECU memory limit |
- HINT:
- ·
If the judgment result shows NORMAL, the system is normal.
·If the judgment result shows ABNORMAL, the system has a malfunction.
·If the judgment result shows INCOMPLETE or N/A, perform steps [B] and [C] again and, if necessary, drive the vehicle for period of time.
FAIL-SAFE
When any of these DTCs or other DTCs relating to Electronic Throttle Control System (ETCS) malfunctions are stored, the ECM enters fail-safe mode. During fail-safe mode, the ECM cuts the current to the throttle actuator, and the throttle valve is returned to a 6° throttle valve opening angle by the return spring. The ECM then adjusts the engine output by controlling the fuel injection (intermittent fuel-cut) and ignition timing, in accordance with the accelerator pedal opening angle, to allow the vehicle to continue running at a minimal speed. If the accelerator pedal is depressed firmly and gently, the vehicle can be driven slowly.
Fail-safe mode continues until a pass condition is detected, and the ignition switch is then turned off.
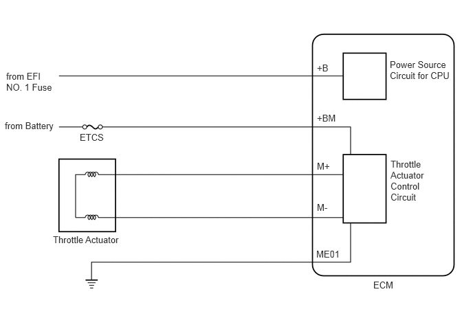
WIRING DIAGRAM
Refer to DTC P2102.
Click hereEngine / Hybrid System>2NZ-FE ENGINE CONTROL>SFI SYSTEM>P2102
CAUTION / NOTICE / HINT
- NOTICE:
-
Inspect the fuses for circuits related to this system before performing the following procedure.
- HINT:
-
Read freeze frame data using the GTS. The ECM records vehicle and driving condition information as freeze frame data the moment a DTC is stored. When troubleshooting, freeze frame data can help determine if the vehicle was moving or stationary, if the engine was warmed up or not, if the air fuel ratio was lean or rich, and other data from the time the malfunction occurred.
PROCEDURE
Connect the GTS to the DLC3.
Turn the ignition switch to ON.
Turn the GTS on.
Enter the following menus: Powertrain / Engine and ECT / Data List / All Data / +BM Voltage.
- Powertrain > Engine and ECT > Data List
-
Tester Display +BM Voltage - 50003 234 279
Read the value displayed on the GTS.
- Result:
Result Proceed to Less than 4 V A 11 to 14 V B
A
B
Disconnect the ECM connector.
Measure the voltage according to the value(s) in the table below.
- Standard Voltage:
Tester Connection Condition Specified Condition A56-3 (+BM) - Body ground Always 11 to 14 V
Measure the resistance according to the value(s) in the table below.
- Standard Resistance:
Tester Connection Condition Specified Condition B56-43 (ME01) - Body ground Always Below 1 Ω B56-104 (E1) - Body ground Always Below 1 Ω
- Result:
Proceed to OK NG
OK
NG