2NZ-FE ENGINE CONTROL CRANKSHAFT POSITION SENSOR INSTALLATION
PROCEDURE
15100Q
1.INSTALL CRANKSHAFT POSITION SENSOR
a.

1.667,0.948 1.833,0.51
1.833,0.51 2.229,0.51
false
2.292,0.417 2.604,0.573
0.313,0.156
10
false
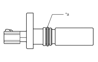
*a
*a | O-ring |
Apply a light coat of engine oil to the O-ring of the crankshaft position sensor.
- NOTICE:
-
If reusing the crankshaft position sensor, be sure to inspect the O-ring.
b.
Install the crankshaft position sensor to the oil pump assembly with the bolt.
- Torque:
- 7.5 N*m (76 kgf*cm, 66 in.*lbf)
- NOTICE:
- ·
If the crankshaft position sensor has been struck or dropped, replace it.
·Make sure that the O-ring is not cracked or does not move out of place during installation.
c.
Connect the crankshaft position sensor connector.
2.INSPECT FOR OIL LEAK
51441C
3.INSTALL ENGINE UNDER COVER RH