LIGHTING (EXT) STOP LIGHT SWITCH INSTALLATION
PROCEDURE
84340
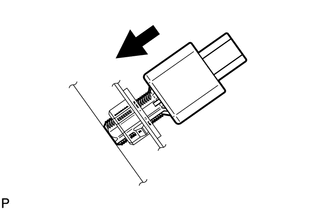
1.INSTALL STOP LIGHT SWITCH ASSEMBLY

Insert the stop light switch assembly until the threaded sleeve hits the pedal.
- NOTICE:
-
When inserting the stop light switch assembly, support the pedal from behind so that the pedal is not pushed in.

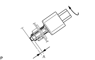
Turn the stop light switch assembly a quarter turn clockwise to install the stop light switch assembly.
- Torque:
- 1.5 N*m (15 kgf*cm, 13 in.*lbf)
or less
- NOTICE:
-
When installing the stop light switch assembly, support the pedal from behind so that the pedal is not pushed in.
Connect the connector.
Check the protrusion of the plunger.
Area | Measurement |
---|---|
A | 0.5 to 2.6 mm (0.0197 to 0.102 in.) |
If the protrusion is not as specified, recheck switch installation and inspect brake pedal adjustment if necessary.
Click hereBrake>BRAKE SYSTEM (OTHER)>BRAKE PEDAL>ADJUSTMENT
- NOTICE:
-
Do not depress or support the brake pedal.
55606
2.INSTALL NO. 1 INSTRUMENT PANEL UNDER COVER SUB-ASSEMBLY