2NZ-FE FUEL FUEL INJECTOR INSPECTION
PROCEDURE
23250
1.INSPECT FUEL INJECTOR ASSEMBLY

*a | Component without harness connected
(Fuel Injector Assembly) |
Measure the resistance according to the value(s) in the table below.
- Standard Resistance:
Tester Connection Condition Specified Condition 1 - 2 20°C (68°F) 11.6 to 12.4 Ω
If the result is not as specified, replace the fuel injector assembly.
Inspect the fuel injector assembly injection.
- CAUTION:
-
Keep the fuel injector assembly away from sparks during the test.

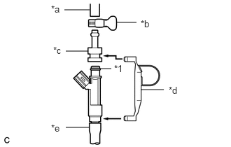
*a | SST (Hose) |
*b | SST (Hose Band) |
*c | SST (Fuel Tube Connector) |
*d | Fuel Pipe (Vehicle Side) |
Connect SST (fuel tube connector) to SST (hose) with SST (hose band), and then connect them to the fuel pipe (vehicle side).
- SST
- 09268-31014 (09268-41700, 95336-08070)
09268-00010 (09268-00030)
Apply a light coat of gasoline to a new O-ring. Then install the O-ring onto the fuel injector assembly.

*1 | O-ring |
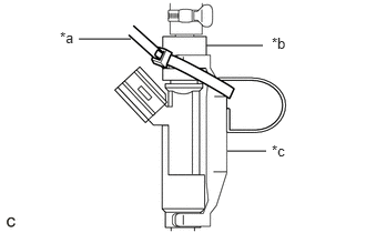
*a | SST (Hose) |
*b | SST (Hose Band) |
*c | SST (Adapter) |
*d | SST (Clamp) |
*e | Vinyl Tube |
Connect SST (adapter) and SST (hose) to the fuel injector assembly, and hold them with SST (clamp).
- SST
- 09268-31014 (09268-41110, 09268-41300, 09268-41700, 95336-08070)

*a | SST (Tie Band) |
*b | SST (Adapter) |
*c | SST (Clamp) |
Tie SST (clamp) and SST (adapter) together with SST (tie band) as shown in the illustration.
- SST
- 09268-31014 (09268-41110, 09268-41300, 09268-41800)
Install a vinyl tube onto the fuel injector assembly.
- CAUTION:
-
Install a suitable vinyl tube onto the fuel injector assembly to prevent fuel from spraying.
Set the fuel injector assembly in a graduated cylinder.
Operate the fuel pump with filter assembly.
Click hereEngine / Hybrid System>2NZ-FE FUEL>FUEL SYSTEM>ON-VEHICLE INSPECTION

*a | SST (Wire) |
*b | Connect |
Connect SST (wire) to the fuel injector assembly and battery for 15 seconds, and measure the injection volume with the graduated cylinder. Test each fuel injector assembly 2 or 3 times.
- SST
- 09842-30080
- NOTICE:
-
Always switch the voltage on and off at the battery side, not the fuel injector assembly side.
- Standard Injection Volume:
Battery Connection Condition Specified Condition Positive (+) battery terminal - Negative (-) battery terminal Per 15 seconds 47 to 58 cc (2.9 to 3.5 cu. in.)
- Difference between Each Fuel Injector Assembly:
11 cc (0.7 cu. in.) or less
If the result is not as specified, replace the fuel injector assembly.
Check for fuel drop.
In the condition above, disconnect SST (wire) from the battery and check for fuel drop from the fuel injector assembly.
- Standard Fuel Drop:
1 drop or less per 12 minutes
If the result is not as specified, replace the fuel injector assembly.