2ZR-FE FUEL  FUEL PUMP  DISASSEMBLY  


PROCEDURE

Hide 83320 1.REMOVE FUEL SENDER GAUGE ASSEMBLY

Hide 23220A 2.REMOVE FUEL PUMP WITH FILTER ASSEMBLY

a.
A325312

Disconnect the fuel pump harness connector.


b.
A323338

Disengage the claw and disconnect the fuel pump filter hose from the fuel sub-tank.


c.
A159120C18
2.823,0.229 3.083,0.229 false 2.813,1.281 3.073,1.281 false 3.156,0.167 3.365,0.49 0.208,0.323 10 false *a 3.135,1.208 3.385,1.458 0.25,0.25 10 false *b
*a Tube
*b Fuel Sub-tank


Using a screwdriver with its tip wrapped with protective tape, disengage the 2 claws, and remove the fuel filter and fuel pump with filter assembly from the fuel sub-tank.

NOTICE:

Do not do anything which may separate the tube from either the fuel suction plate sub-assembly or fuel filter, such as applying excessive force to the tube.

Click hereEngine / Hybrid System>2ZR-FE FUEL>FUEL SYSTEM>PRECAUTION



d.
A159121

Using a screwdriver with its tip wrapped with protective tape, disengage the 2 claws and remove the No. 1 fuel suction support.


e.
A288169C03
2.75,2.75 2.5,2.75 false 0.667,1.5 0.417,1.5 false 0.25,1.417 0.552,1.583 0.302,0.167 10 *a 2.823,2.656 3.135,2.813 0.313,0.156 10 *b
*a Fuel Filter
*b Suction Filter


Using a screwdriver with its tip wrapped with protective tape, disengage the 5 claws, and remove the fuel pump with filter assembly from the fuel filter.

NOTICE:
·

Do not damage the fuel filter.

·

Do not remove the suction filter from the fuel pump with filter assembly.

·

Do not use either the fuel pump with filter assembly or suction filter if the suction filter is removed from the fuel pump with filter assembly.




f.
A283925

Disconnect the fuel pump harness connector.


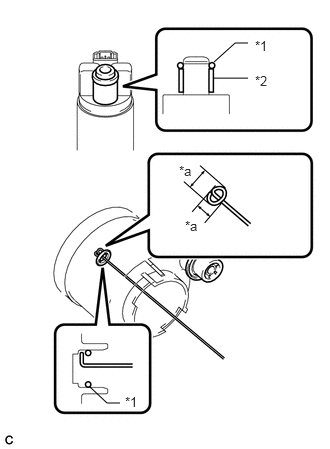
g.
A292649C05
2.219,0.813 2.583,0.813 false 2.229,0.646 2.448,0.448 2.448,0.448 2.583,0.448 false 0.927,4.021 1.115,4.198 1.115,4.198 1.25,4.198 false 2.656,0.396 2.969,0.552 0.313,0.156 10 false *1 2.656,0.76 2.969,0.917 0.313,0.156 10 false *2 1.865,1.698 2.177,1.854 0.313,0.156 10 false *a 1.927,2.271 2.24,2.427 0.313,0.156 10 false *a 1.302,4.104 1.615,4.26 0.313,0.156 10 false *1
*1 O-ring
*2 Fuel Pump Spacer
*a 5.0 mm (0.197 in.)


Remove the O-ring and fuel pump spacer from the fuel pump with filter assembly.

NOTICE:

Be careful not to damage the sealing surface.


HINT:

If the O-ring still remains in the fuel filter, remove it using a wire tip (1.0 mm (0.0394 in.) diameter) that is formed as shown in the illustration.